- Partiron
- OEM Parts
- Yamaha
- motorcycle
- 2011
- YZFR6AR (YZFR6) 1JS5 2011
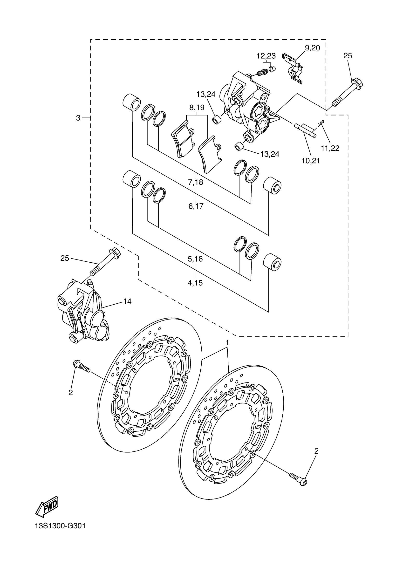
FRONT BRAKE CALIPER
Yamaha YZFR6AR (YZFR6) 1JS5 2011 FRONT BRAKE CALIPER Diagram
#
Description
Price
3
CALIPER ASSY (LEFT)
13S-2580T-10-00
Unavailable
12
BLEED SCREW KIT
1J3-W0048-00-00
Unavailable
13
PIN, KNOCK
5VY-2583B-00-00
Unavailable
14
CALIPER ASSY (RIGHT)
13S-2580U-10-00
Unavailable
23
BLEED SCREW KIT
1J3-W0048-00-00
Unavailable
24
PIN, KNOCK
5VY-2583B-00-00
Unavailable
25
BOLT, FLANGE
90105-10397-00
Unavailable
