- Partiron
- OEM Parts
- Yamaha
- motorcycle
- 2020
- YZFR3LL (YZFR3) B8P3 2020
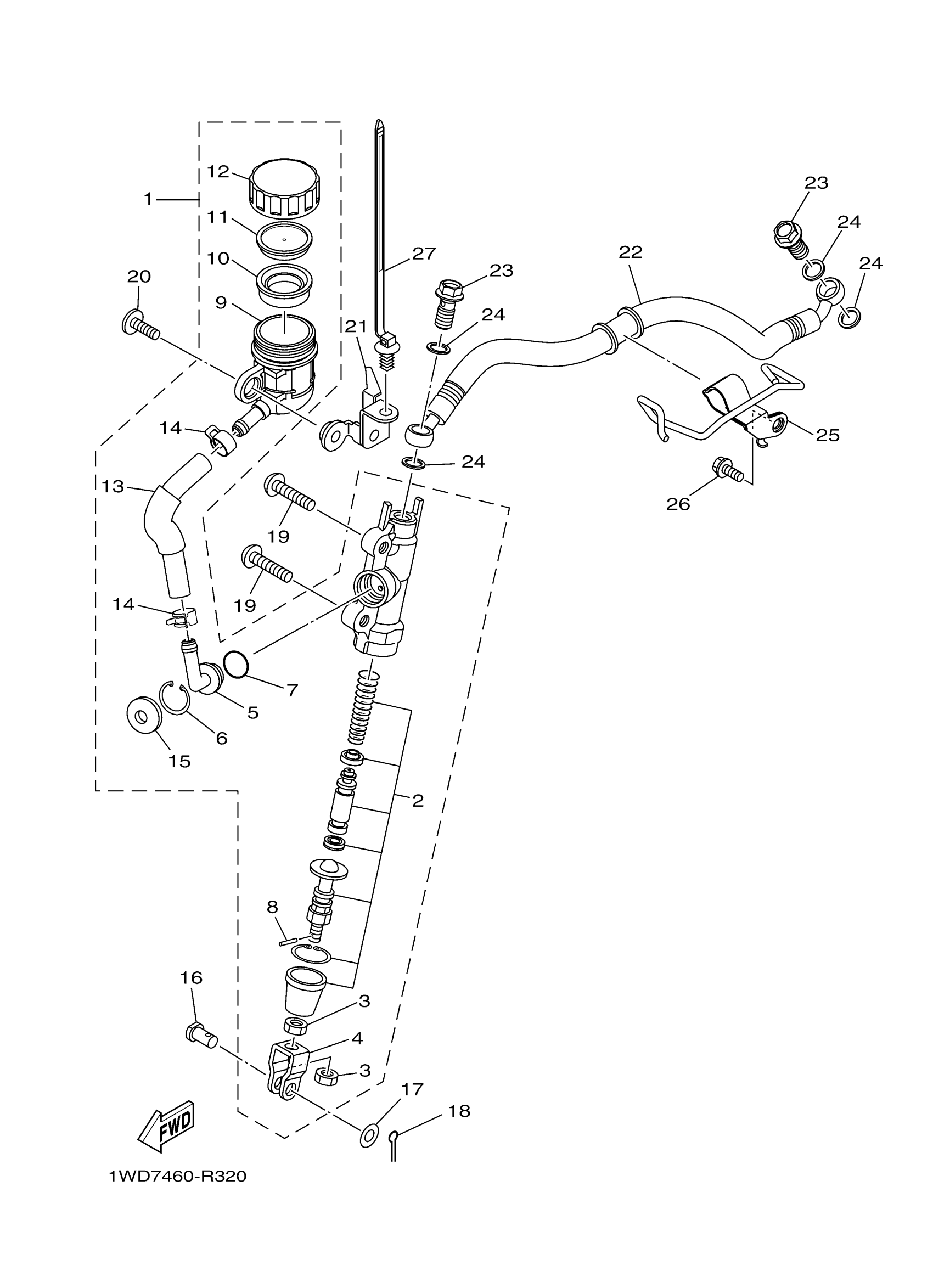
REAR MASTER CYLINDER
Yamaha YZFR3LL (YZFR3) B8P3 2020 REAR MASTER CYLINDER Diagram
#
Description
Price
1
REAR MASTER CYLINDER ASSY
1WD-F580E-00-00
Unavailable
5
. JOINT
50C-F582A-50-00
Unavailable
6
CIRCLIP (50C1)
50C-F5866-00-00
Unavailable
13
. HOSE, RESERVOIR
1WD-F5895-50-00
Unavailable
15
. COVER, DUST
50C-F589A-00-00
Unavailable
16
PIN, CLEVIS(2YK)
90240-08124-00
Unavailable
17
WASHER, PLATE 1562722600
90201-08083-00
Unavailable
18
PIN, COTTER (648)
91490-20015-00
Unavailable
19
BOLT, BUTTON HEAD
92012-08030-00
Unavailable
20
BOLT,HEX. SOCKET BUTTON
90111-06121-00
Unavailable
21
HOLDER, RESERVE TANK
B04-F582E-00-00
Unavailable
22
HOSE, BRAKE 2
1WD-F5873-00-00
Unavailable
23
BOLT, UNION(3GM)
90401-10159-00
Unavailable
24
WASHER, PLATE(481)
90201-10118-00
Unavailable
25
HOLDER, BRAKE HOSE
1WD-F5887-00-00
Unavailable
26
BOLT, FLANGE DEEP RECESS
95D37-06014-00
Unavailable
27
CLAMP
90464-30009-00
Unavailable
