Yamaha YZFR3LL (YZFR3) B8P3 2020 OIL PUMP Diagram
#
Description
Price
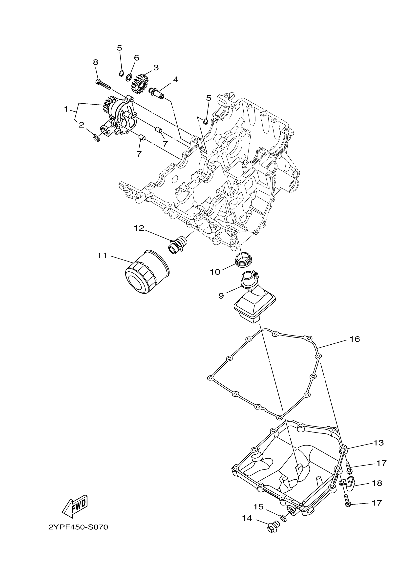
6
WASHER, PLAIN(735)
90201-10119-00
Unavailable
7
PIN, DOWEL
99530-08012-00
Unavailable
8
BOLT
91332-06030-00
Unavailable
16
GASKET, STRAINER COVER
1WD-E3414-00-00
Unavailable
17
BOLT, FLANGE
95022-06025-00
Unavailable
18
CLAMP (5D91)
90462-08810-00
Unavailable
