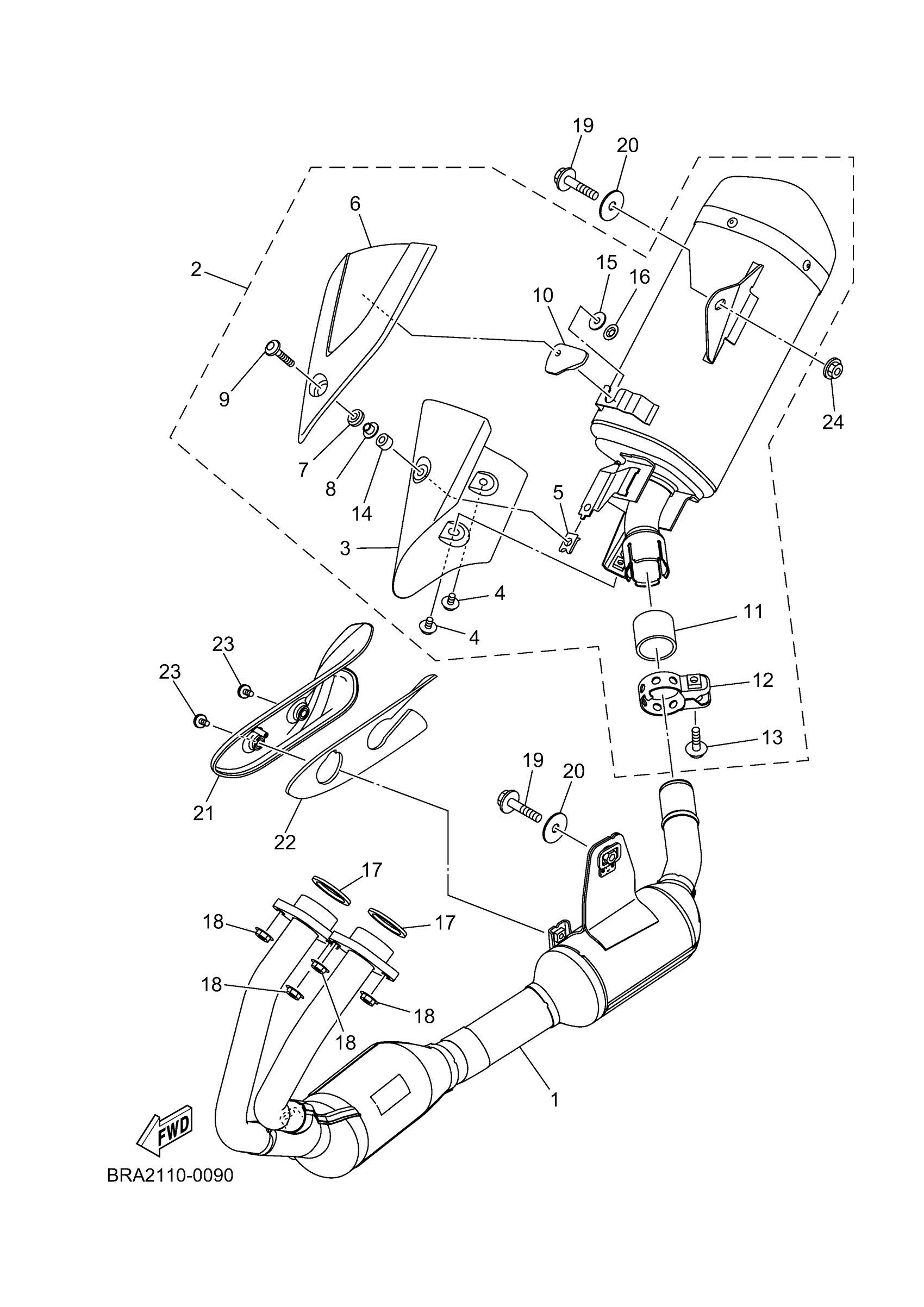
Yamaha YZFR3ASW (YZFR3 ABS) BRA22 2025 EXHAUST Diagram
#
Description
Price
5
. NUT, SPRING
90183-06818-00
Unavailable
6
PROTECTOR, MUFFLER 2
1WD-E4728-00-00
Unavailable
10
. SPACER
1WD-E4763-00-00
Unavailable
12
BAND, MUFFLER
1WD-E4715-00-00
Unavailable
15
WASHER, PLATE
90201-06088-00
Unavailable
16
NUT, SPRING
90183-06071-00
Unavailable
17
GASKET, EXHAUST PIPE
1WD-E4613-00-00
Unavailable
18
NUT, FLANGE(JN5)
95707-08500-00
Unavailable
19
BOLT, FLANGE DEEP
95D37-08040-00
Unavailable
20
WASHER, PLATE (1A0)
90201-08612-00
Unavailable
21
PROTECTOR, EXHAUST PIPE
B1X-E4628-00-00
Unavailable
22
SEAT
B1X-E475P-00-00
Unavailable
23
BOLT, HEXAGON SOCKET BUTTON
90111-06860-00
Unavailable
24
NUT, SELF-LOCKING
90185-08169-00
Unavailable
