- Partiron
- OEM Parts
- Yamaha
- motorcycle
- 2008
- YZFR1XR (YZFR1) 4C8B1 2008
CYLINDER HEAD
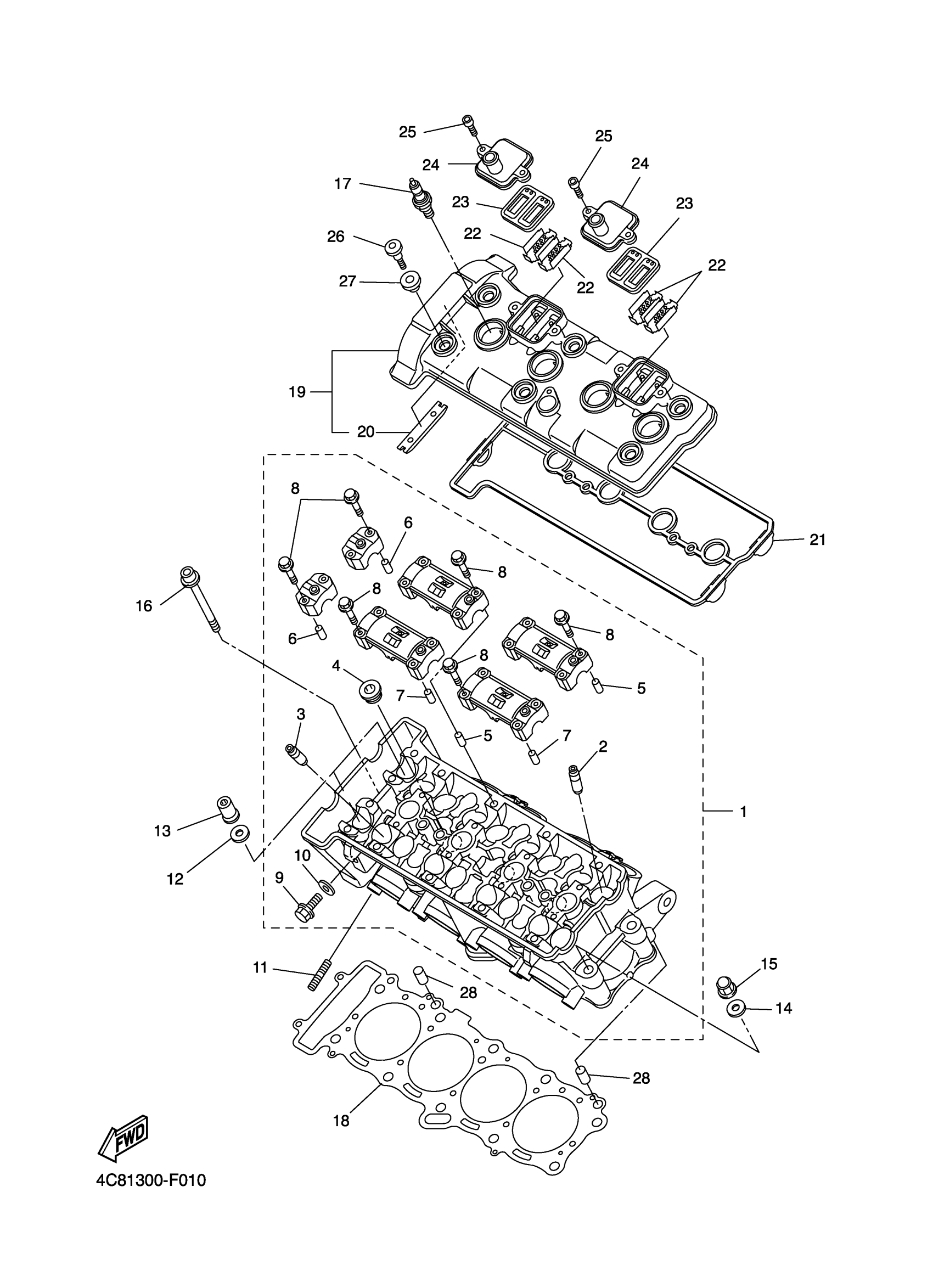
Yamaha YZFR1XR (YZFR1) 4C8B1 2008 CYLINDER HEAD Diagram
#
Description
Price
1
CYLINDER HEAD ASSY
4C8-11101-00-00
Unavailable
10
GASKET 256113960000
90430-06014-00
Unavailable
16
BOLT, HEXAGON SOCKET HEAD
90110-06212-00
Unavailable
17
CR9EK NGK SPLUG 10PK
CR9-EK000-00-00
Unavailable
18
GASKET, CYLINDER HEAD 1
4C8-11181-00-00
Unavailable
19
COVER, CYLINDER HEAD 1
4C8-11191-00-00
Unavailable
20
GUIDE, STOPPER 2
5BE-12241-01-00
Unavailable
21
GASKET, HEAD COVER 1
4C8-11193-00-00
Unavailable
22
PLATE
5VY-1482K-00-00
Unavailable
23
REED VALVE ASSY
5SL-14890-10-00
Unavailable
24
CAP, CASE
5VY-14899-01-00
Unavailable
25
BOLT,SOCKET HEAD
91314-06020-00
Unavailable
26
BOLT(4BP)
90109-066F0-00
Unavailable
27
RUBBER, MOUNT 1
5VY-1111G-00-00
Unavailable
28
PIN, DOWEL(3VD)
99530-10114-00
Unavailable
