- Partiron
- OEM Parts
- Yamaha
- motorcycle
- 2001
- YZFR1NC (YZFR1 CA) 5JJD 2001
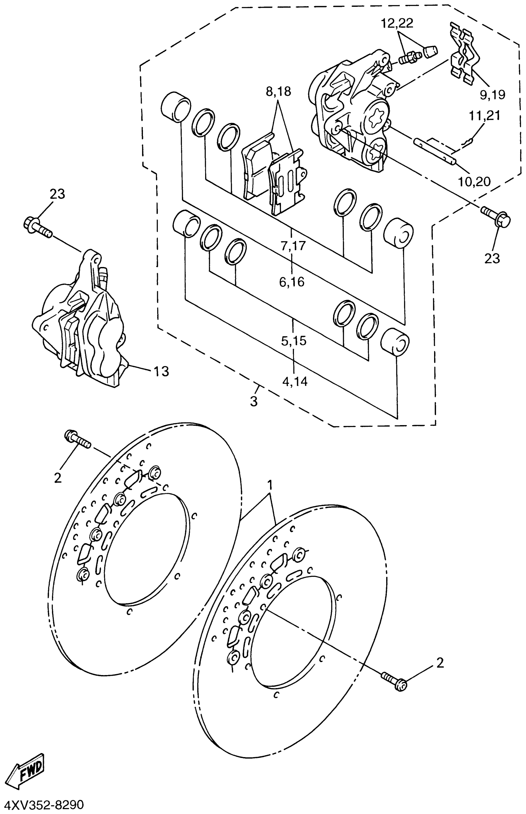
FRONT BRAKE CALIPER
Yamaha YZFR1NC (YZFR1 CA) 5JJD 2001 FRONT BRAKE CALIPER Diagram
#
Description
Price
1
DISC BRAKE ASSY
5JJ-2581T-11-00
Unavailable
3
CALIPER ASSY (LEFT)
5JJ-2580T-00-00
Unavailable
8
BRAKE PAD KIT
5JJ-25805-00-00
Unavailable
12
BLEED SCREW KIT
1J3-W0048-00-00
Unavailable
13
CALIPER ASSY (RIGHT)
5JJ-2580U-00-00
Unavailable
18
BRAKE PAD KIT
5JJ-25805-00-00
Unavailable
22
BLEED SCREW KIT
1J3-W0048-00-00
Unavailable
23
BOLT, WASHER BASED
90105-105A7-00
Unavailable
