Yamaha YZFR1K1R (YZFR1) BX4F0 2019 EXHAUST Diagram
#
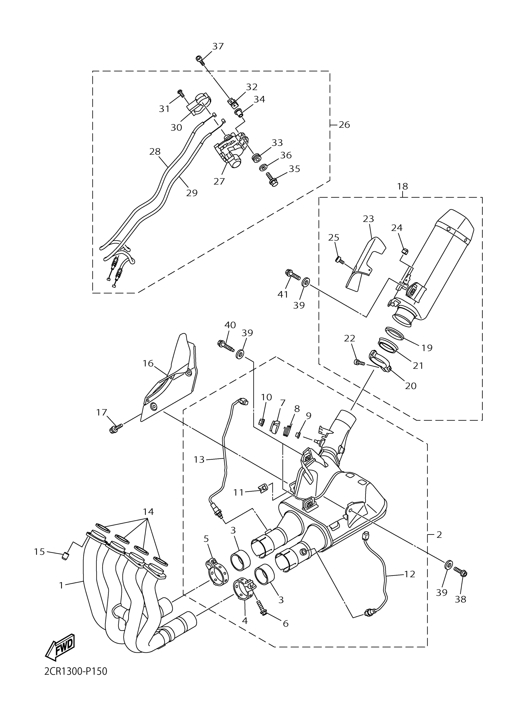
1
EXHAUST PIPE COMP.
2CR-14602-00-00
Unavailable
2
CHAMBER ASSY
2CR-14730-00-00
Unavailable
8
SPRING
2C0-14856-00-00
Unavailable
9
SEAT, SPRING
2D1-14843-00-00
Unavailable
10
NUT
90179-06063-00
Unavailable
16
PROTECTOR ASSY
BX4-14708-00-00
Unavailable
17
BOLT,HEX. SOCKET B
90111-06153-00
Unavailable
18
SILENCER ASSY
BX4-14750-00-00
Unavailable
19
GASKET, EXHAUST PI
2CR-14623-00-00
Unavailable
20
BAND, MUFFLER
2CR-14725-00-00
Unavailable
21
RING, STOPPER
2CR-14618-00-00
Unavailable
22
BOLT, HEXAGON SOCKET HEAD
90110-06343-00
Unavailable
23
PROTECTOR, MUFFLER 1
BX4-14718-00-00
Unavailable
24
DAMPER, MUFFLER
5S7-14737-00-00
Unavailable
25
BOLT,HEX. SOCKET B
90111-06153-00
Unavailable
26
SERVO MOTOR COMP
2CR-4616A-02-00
Unavailable
27
SERVO MOTOR ASSY
2CR-85820-00-00
Unavailable
28
CABLE, PULLEY 1
2CR-1133E-00-00
Unavailable
29
CABLE, PULLEY 2
2CR-1133F-00-00
Unavailable
30
COVER, SERVO MOTOR
5VY-85829-01-00
Unavailable
31
SCREW, PANHEAD TAPPING (682)
97780-50514-00
Unavailable
32
BRACKET 7
2CR-2116J-00-00
Unavailable
33
GROMMET
90480-14005-00
Unavailable
34
COLLAR
90387-06158-00
Unavailable
35
BOLT, FLANGE
95022-06020-00
Unavailable
36
WASHER, PLATE
90201-06M31-00
Unavailable
37
BOLT, HEXAGON SOCKET HEAD
90110-06106-00
Unavailable
38
BOLT, HEXAGON SOCKET HEAD
90110-08099-00
Unavailable
39
WASHER, PLATE(3DM)
90201-087G2-00
Unavailable
40
BOLT
90109-08238-00
Unavailable
41
BOLT, HEXAGON SOCKET HEAD(38V)
90110-08071-00
Unavailable
