- Partiron
- OEM Parts
- Yamaha
- motorcycle
- 2011
- YZFR1AR (YZFR1) 1KB5 2011
FRONT MASTER CYLINDER
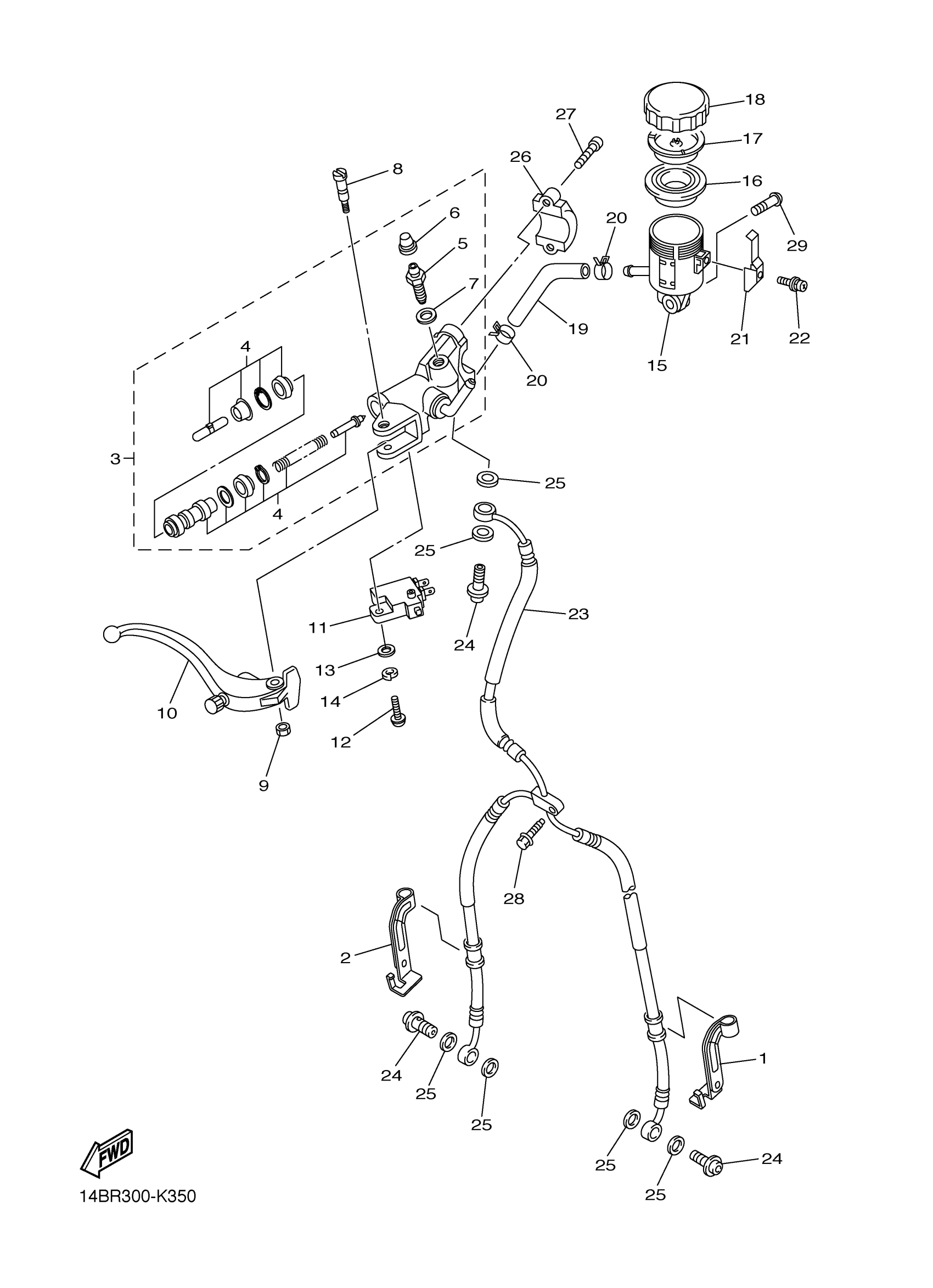
Yamaha YZFR1AR (YZFR1) 1KB5 2011 FRONT MASTER CYLINDER Diagram
#
Description
Price
1
HOLDER, BRAKE HOSE 1
14B-25875-00-00
Unavailable
6
CAP
3YK-25825-00-00
Unavailable
8
BOLT, LEVER
5VY-2589F-01-00
Unavailable
10
LEVER 2
14B-83922-00-00
Unavailable
12
SCREW, PAN HEAD
98511-04012-00
Unavailable
16
DIAPHRAGM, RESERVOIR
5VY-25854-00-00
Unavailable
17
BUSH,DIAPHRAGM
5VY-25855-00-00
Unavailable
18
CAP, RESERVOIR
5VY-25852-00-00
Unavailable
19
HOSE, RESERVOIR
5VY-25895-10-00
Unavailable
20
CLIP
90467-120A3-00
Unavailable
21
HOLDER
5VY-2589G-00-00
Unavailable
22
SCREW
5VY-2589H-00-00
Unavailable
23
HOSE, BRAKE 1
14B-25872-10-00
Unavailable
24
BOLT, UNION
90401-10172-00
Unavailable
25
GASKET
90430-10005-00
Unavailable
26
BRACKET, MASTER CYLINDER
5VS-25867-00-00
Unavailable
27
BOLT
5VS-26332-00-00
Unavailable
28
BOLT, FLANGE
90105-06041-00
Unavailable
29
BOLT,HEX. SOCKET BUTTON
90111-05026-00
Unavailable
