- Partiron
- OEM Parts
- Yamaha
- motorcycle
- 1998
- YZF750RKC (YZF750RCA) 4LE8 1998
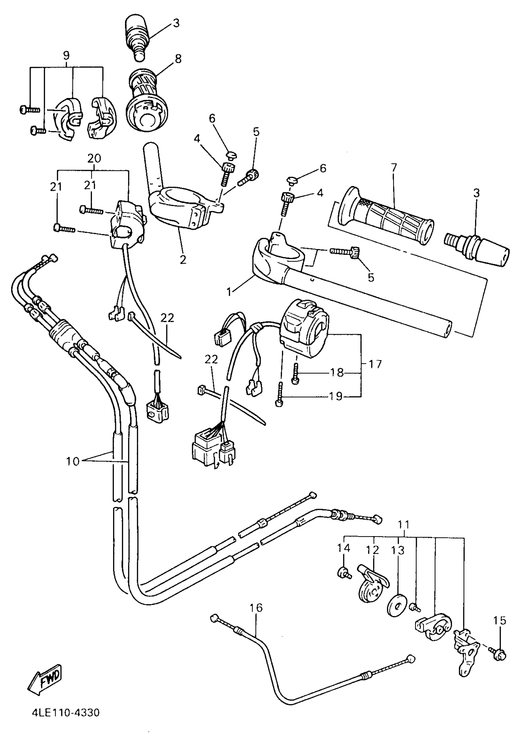
STEERING HANDLE CABLE
Yamaha YZF750RKC (YZF750RCA) 4LE8 1998 STEERING HANDLE CABLE Diagram
#
Description
Price
1
HANDLEBAR (LEFT)
4FM-26121-01-00
Unavailable
2
HANDLEBAR (RIGHT)
4FM-26122-00-00
Unavailable
4
BOLT,SOCKET
91317-06020-00
Unavailable
7
GRIP (LEFT)
4FM-26241-01-00
Unavailable
8
GRIP ASSY
4FM-26240-01-00
Unavailable
9
CABLE CONNECTOR CAP ASSY
3LN-26270-01-00
Unavailable
10
THROTTLE CABLE ASSEMBLY
4FM-26302-20-00
Unavailable
11
STARTER ASSY
4FM-83940-01-00
Unavailable
12
LEVER, STARTER
1WG-83941-01-00
Unavailable
16
CABLE, STARTER 1
3FV-26331-00-00
Unavailable
17
SWITCH, HANDLE 3
3LK-83973-10-00
Unavailable
18
SCREW, PAN HEAD
98517-05030-00
Unavailable
19
SCREW, PAN
98507-05040-00
Unavailable
20
SWITCH, HANDLE 2
4UN-83975-01-00
Unavailable
21
SCREW, PAN HEAD(4MY)
98507-05018-00
Unavailable
22
BAND, SWITCH CORD
25G-83936-01-00
Unavailable
