Yamaha YZF600RWC (YZF600R CA) 5AHN 2007 SHIFT SHAFT Diagram
#
Description
Price
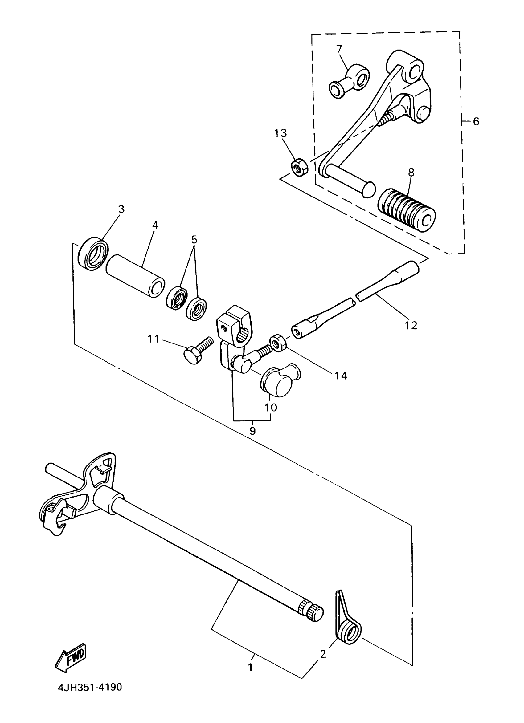
1
SHIFT SHAFT ASSY
4JH-18101-02-00
Unavailable
6
SHIFT PEDAL ASSY
4JH-18110-01-00
Unavailable
9
SHIFT SHAFT ASSY
4JH-18130-00-00
Unavailable
12
ROD, SHIFT
4JH-18115-01-00
Unavailable
14
. NUT
95380-08700-00
Unavailable
