- Partiron
- OEM Parts
- Yamaha
- motorcycle
- 2000
- YZF600RMC (YZF600R CA) 5AH8 2000
CYLINDER HEAD
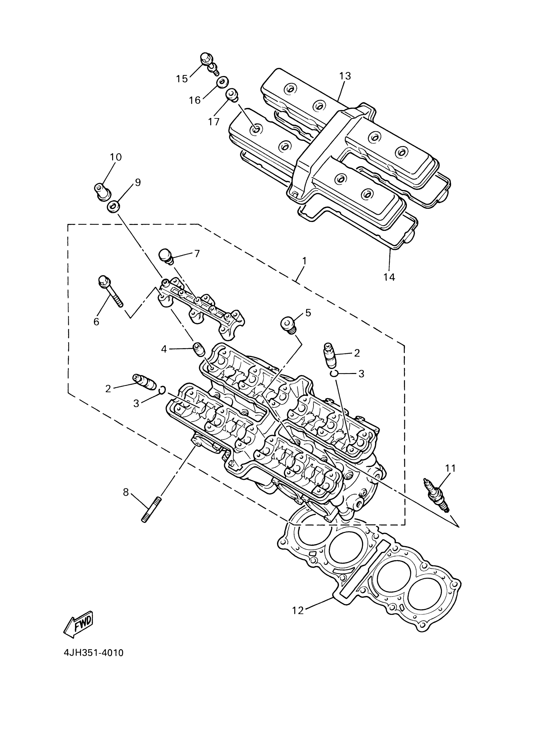
Yamaha YZF600RMC (YZF600R CA) 5AH8 2000 CYLINDER HEAD Diagram
#
Description
Price
1
CYLINDER HEAD ASSY
4JH-11101-02-00
Unavailable
1
CYLINDER HEAD ASSY
4MM-11101-02-00
Unavailable
5
PLUG, STRAIGHT SCREW(1HX)
90340-12112-00
Unavailable
6
. BOLT, FLANGE
90105-06026-00
Unavailable
11
CR9E NGK SPLUG 4PK
CR9-E0000-00-00
Unavailable
12
GASKET, CYLINDER HEAD 1
4JH-11181-00-00
Unavailable
13
COVER, CYLINDER HEAD 1
3TJ-11191-00-00
Unavailable
15
BOLT(3TJ)
90109-064F0-00
Unavailable
16
WASHER(46X)
90209-11262-00
Unavailable
17
RUBBER, MOUNT 1
2GH-1111G-00-00
Unavailable
