Partiron

Yamaha YZF600RLC (YZF600R CA) 1999 CAMSHAFT CHAIN Diagram

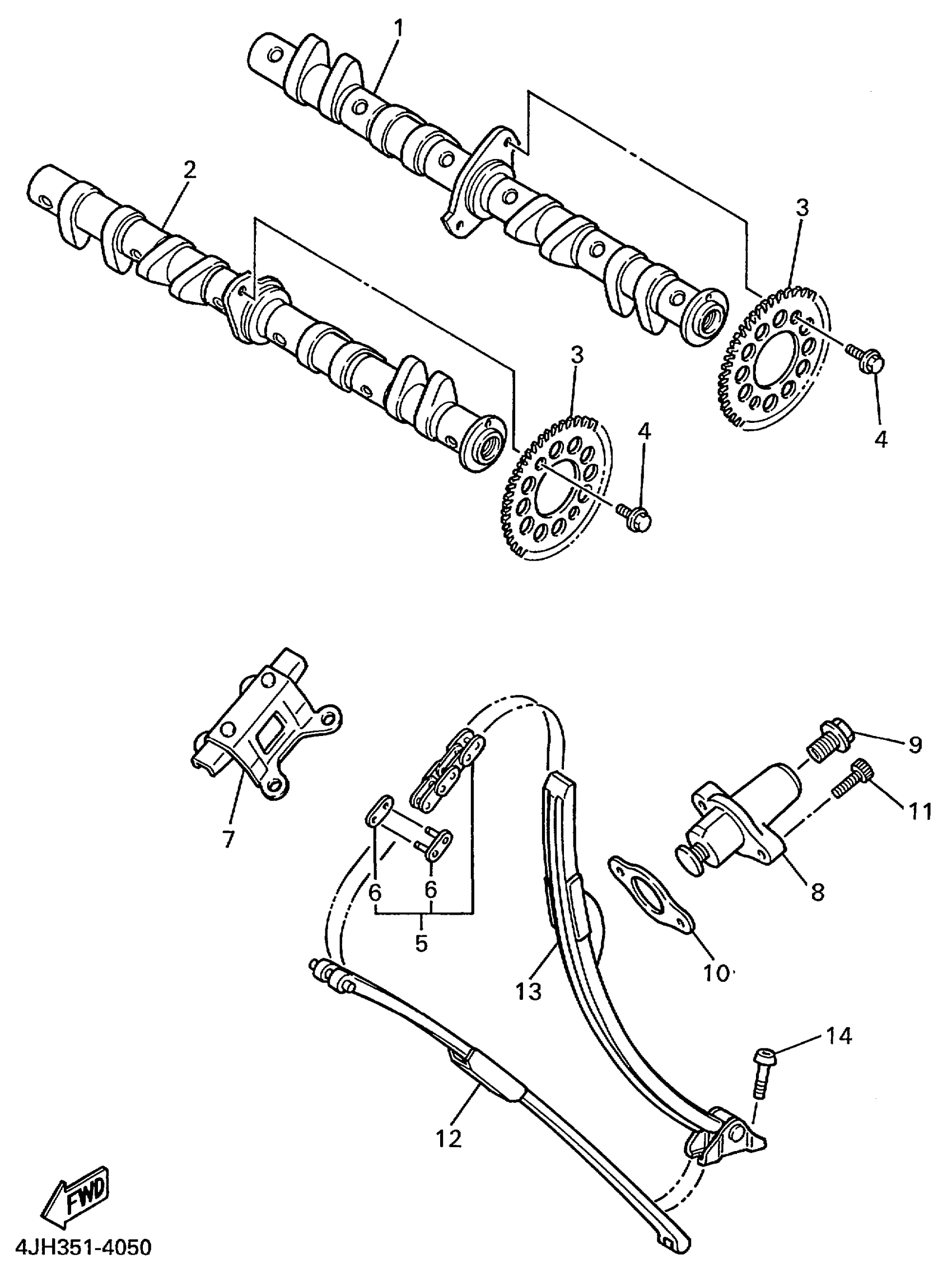
#

Description
Price

1

CAMSHAFT 1

4JH-12171-01-00

Unavailable

1

CAMSHAFT 1

4NC-12171-01-00

Unavailable

2

CAMSHAFT 2

4JH-12181-00-00

Unavailable

2

CAMSHAFT 2

4NC-12181-00-00

Unavailable

3

SPROCKET, CAM CHAIN

1WG-12176-00-00

Unavailable

4

BOLT, WASHER BASED(1HX)

90105-07385-00

Unavailable

5

CHAIN (D.I.D. 215F DHA 118L)

9Y581-32117-00

$80.99

6

PIN, JOINT

4TV-11498-00-00

$6.99

7

GUIDE, STOPPER 2

3TJ-12241-00-00

Unavailable

8

TENSIONER ASSY, CAM CHAIN

3GM-12210-00-00

Unavailable

9

BOLT(1WG)

90109-112F1-00

Unavailable

10

GASKET, TENSIONER CASE

4FM-12213-00-00

$8.99

11

BOLT,SOCKET

91317-06025-00

$5.60

12

DAMPER, CHAIN 1

3HE-12251-00-00

Unavailable

13

DAMPER, CHAIN 2

4JH-12252-00-00

Unavailable

14

BOLT(1FN)

90109-065A8-00

Unavailable