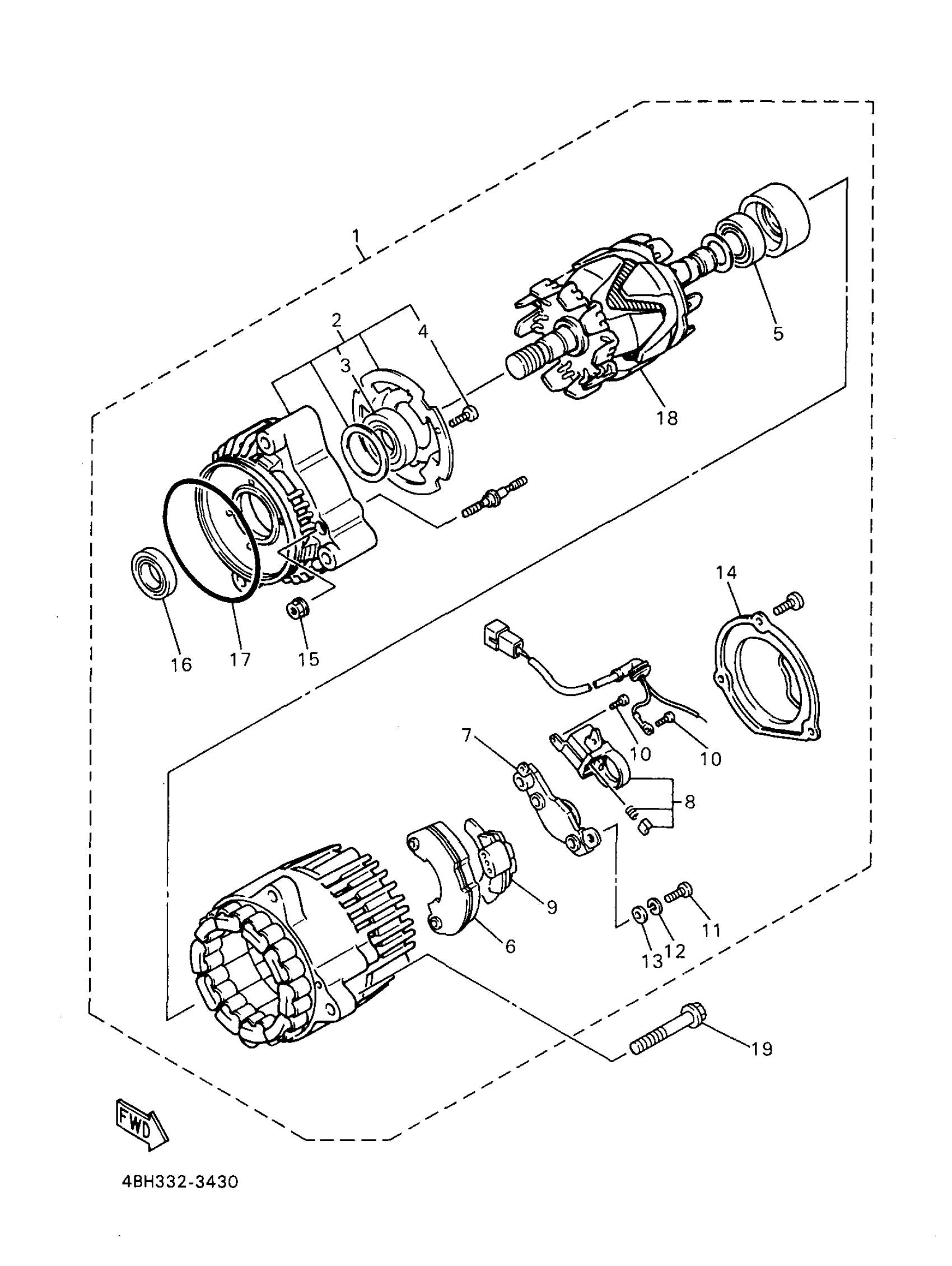
Yamaha YZF1000RJC (YZF1000R CA) 1997 GENERATOR Diagram
#
Description
Price
1
A.C. GENERATOR ASSY
4KG-81600-03-00
Unavailable
4
SCREW
4BH-81645-00-00
Unavailable
5
BEARING
4BH-81643-10-00
Unavailable
6
RECTIFIER ASSY
4BH-81970-00-00
Unavailable
8
BRUSH HOLDER ASSY
3FV-81619-00-00
Unavailable
9
COVER, RECTIFIER
4BH-81972-00-00
Unavailable
10
SCREW
3FV-81645-00-00
Unavailable
11
. SCREW, PAN HEAD
98580-05018-00
Unavailable
14
COVER ASSY
4BH-81604-00-00
Unavailable
16
OIL SEAL
36Y-81638-50-00
Unavailable
17
O-RING
2KT-81642-50-00
Unavailable
18
ROTOR ASSY
4BH-81660-00-00
Unavailable
19
BOLT, WASHER BASED
90105-084A1-00
Unavailable
