- Partiron
- OEM Parts
- Yamaha
- motorcycle
- 2006
- YZ85V (YZ85) 5PAD 2006
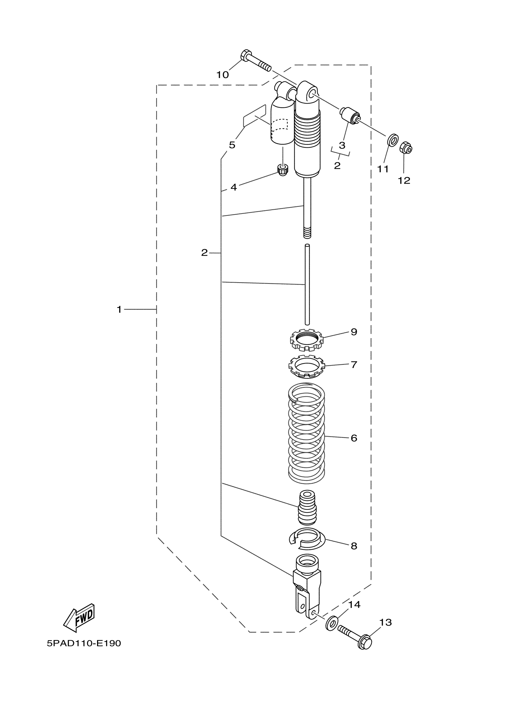
REAR SUSPENSION
Yamaha YZ85V (YZ85) 5PAD 2006 REAR SUSPENSION Diagram
#
Description
Price
1
SHOCK ABSORBER ASSY, REAR
5PA-22210-50-00
Unavailable
6
SPRING (K=5.0)
4ES-22212-F0-00
Unavailable
7
GUIDE, SPRING 1
4ES-22214-00-00
Unavailable
9
NUT 1
4ES-22251-00-00
Unavailable
