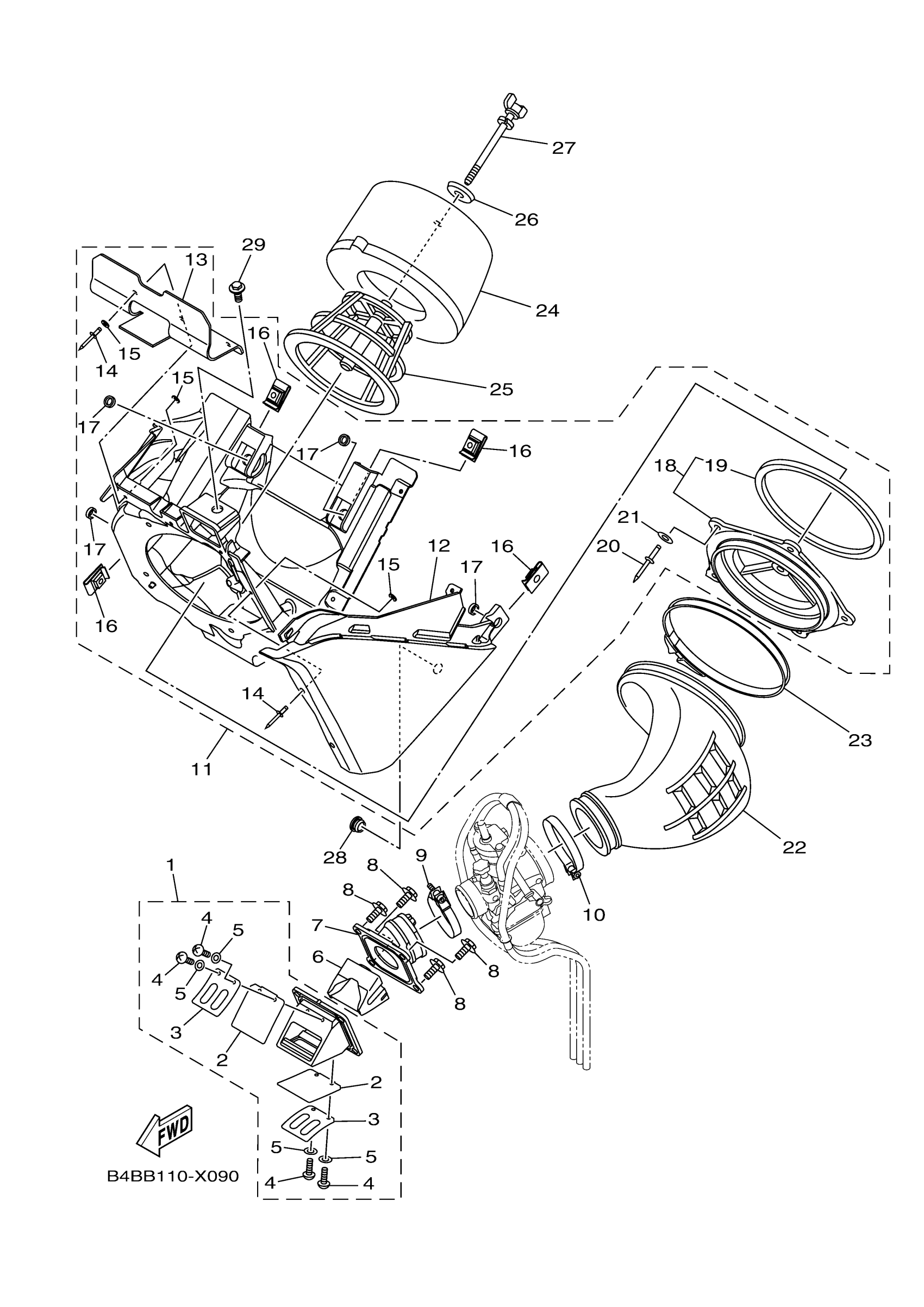
Yamaha YZ85T2 (YZ85) B4BP 2026 INTAKE Diagram
#
Description
Price
4
SCREW, PAN HEAD(78G)
98580-03006-00
Unavailable
6
SPACER, REED VALVE
BR8-13625-00-00
Unavailable
16
NUT, SPRING
90183-060A7-00
Unavailable
17
COLLAR
90387-06069-00
Unavailable
18
HOLDER, GUIDE
5PA-14459-00-00
Unavailable
19
SEAL
4ES-14462-00-00
Unavailable
20
RIVET, BLIND(80N)
90267-48138-00
Unavailable
21
WASHER, PLATE (34L)
90201-043H7-00
Unavailable
22
JOINT, AIR CLEANER
5PA-14453-01-00
Unavailable
23
HOSE CLAMP ASSY
90450-99014-00
Unavailable
24
ELEMENT, AIR CLEANER
5PA-14451-02-00
Unavailable
25
GUIDE
5PA-14458-00-00
Unavailable
26
WASHER (4H7)
90209-06096-00
Unavailable
27
BOLT, WING
90122-06010-00
Unavailable
28
GROMMET
90480-10M28-00
Unavailable
29
BOLT
90109-06245-00
Unavailable
