- Partiron
- OEM Parts
- Yamaha
- motorcycle
- 2004
- YZ85S (YZ85) 5PA7 2004
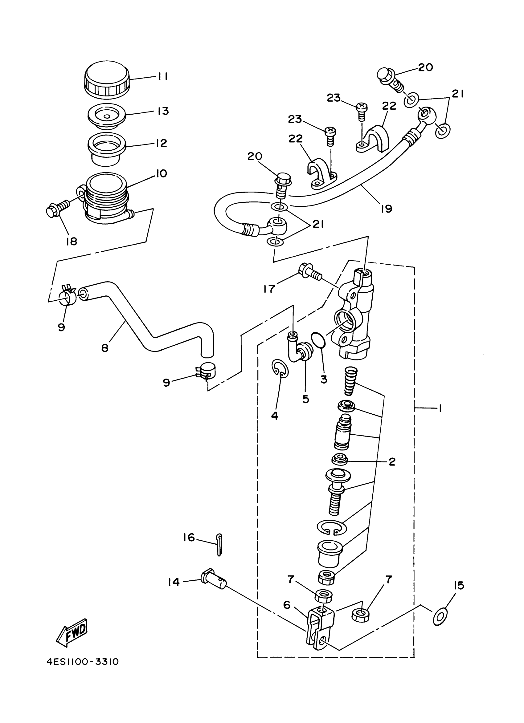
REAR MASTER CYLINDER
Yamaha YZ85S (YZ85) 5PA7 2004 REAR MASTER CYLINDER Diagram
#
Description
Price
16
PIN, COTTER
91490-16020-00
Unavailable
17
BOLT, WASHER BASED(JA9)
90105-06696-00
Unavailable
18
BOLT, FLANGE(4MY)
95027-06012-00
Unavailable
19
HOSE, BRAKE 2
5PA-25873-01-00
Unavailable
20
BOLT, UNION
90401-10172-00
Unavailable
21
WASHER, PLATE(481)
90201-10118-00
Unavailable
22
HOLDER, BRAKE HOSE 2
2VM-25876-00-00
Unavailable
23
SCREW, PAN HEAD(3LA)
98517-05010-00
Unavailable
