- Partiron
- OEM Parts
- Yamaha
- motorcycle
- 2002
- YZ85P (YZ85) 5PA1 2002
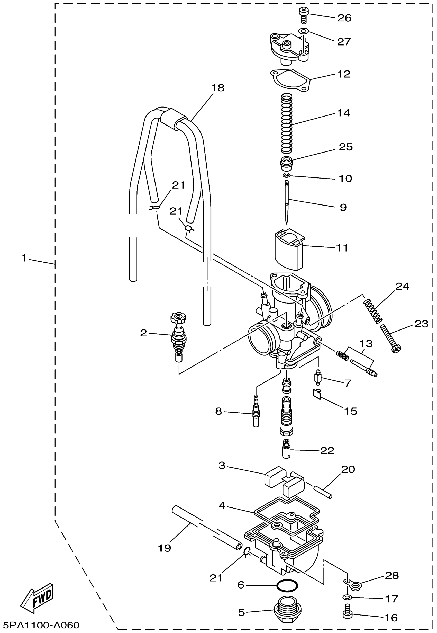
CARBURETOR
Yamaha YZ85P (YZ85) 5PA1 2002 CARBURETOR Diagram
#
9
NEEDLE (NBKE)
5PA-14916-KE-00
Unavailable
9
NEEDLE (NBLF)
5PA-14916-LF-00
Unavailable
9
NEEDLE (NBLG)
5PA-14916-LG-00
Unavailable
10
CLIP
4MX-14919-00-00
Unavailable
11
VALVE ASSY
5PA-14340-00-00
Unavailable
12
GASKET
5PA-14126-00-00
Unavailable
13
PILOT SCREW SET
5PA-14105-01-00
Unavailable
14
SPRING, THROTTLE VALVE
5PA-14131-00-00
Unavailable
15
CLIP
5PA-14159-00-00
Unavailable
16
SCREW, PAN HEAD(GA5)
98580-04014-00
Unavailable
17
YBS66-4 WASHER, PLAIN
92990-04200-00
Unavailable
18
HOSE
5PA-1410E-00-00
Unavailable
19
PIPE
4XL-14197-10-00
Unavailable
20
. PIN, FLOAT ARM
663-14548-00-00
Unavailable
21
CLIP
3TJ-14137-40-00
Unavailable
22
JET, MAIN (#135)
4MX-14943-34-00
Unavailable
22
JET, MAIN (#140)
4MX-14943-35-00
Unavailable
22
JET, MAIN (#145)
4MX-14943-36-00
Unavailable
22
JET, MAIN (#132)
4MX-14943-84-00
Unavailable
22
JET, MAIN (#138)
4MX-14943-85-00
Unavailable
22
JET, MAIN (#142)
4MX-14943-86-00
Unavailable
22
JET, MAIN (#148)
4MX-14943-87-00
Unavailable
23
SCREW, THROTTLE
5HC-14922-00-00
Unavailable
24
SPRING, THROTTLE STOP
5HC-14934-00-00
Unavailable
25
RING
5PA-14194-00-00
Unavailable
26
SCREW, PAN HEAD (686)
98580-04012-00
Unavailable
27
YBS66-4 WASHER, PLAIN
92990-04200-00
Unavailable
28
. PLATE
5PA-14146-00-00
Unavailable
