Partiron

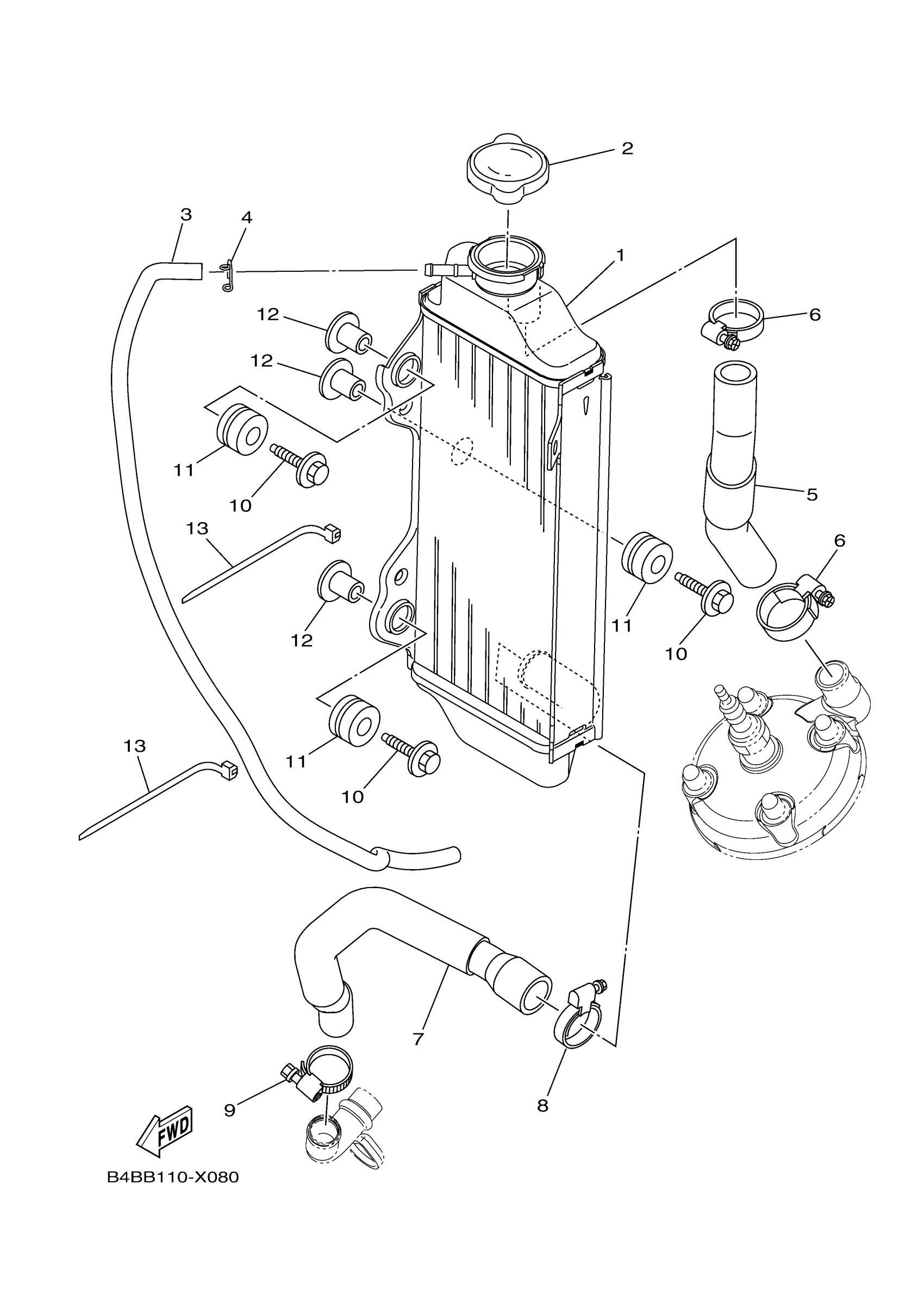
Yamaha YZ85LWR (YZ85 LW) B0GK 2024 RADIATOR & HOSE Diagram

#

Description
Price

1

RADIATOR COMP

B4B-12461-00-00

$212.99

2

CAP, RADIATOR

5SL-12462-01-00

$29.99

3

PIPE, BREATHER

22W-12463-00-00

$20.99

4

CLIP, PIPE 6162435600

90467-08004-00

$8.49

5

PIPE 1

4ES-12481-10-00

$25.99

6

HOSE CLAMP ASSY(64X)

90450-22M14-00

$16.99

7

HOSE 2

B4B-12577-00-00

$26.99

8

HOSE CLAMP ASSY

90450-28001-00

$14.99

9

HOSE CLAMP ASSY(64X)

90450-22M14-00

$16.99

10

BOLT, WITH WASHER

90119-06262-00

$8.49

11

GROMMET(3RB)

90480-15528-00

$8.49

12

COLLAR

90387-06065-00

$12.49

13

CLAMP

90464-25004-00

$4.19