- Partiron
- OEM Parts
- Yamaha
- motorcycle
- 1988
- YZ80U (YZ80) 1988
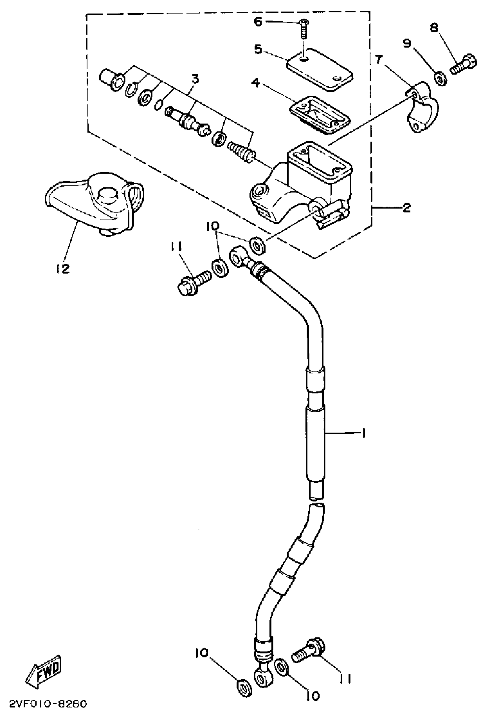
FRONT MASTER CYLINDER
Yamaha YZ80U (YZ80) 1988 FRONT MASTER CYLINDER Diagram
#
Description
Price
1
HOSE,BRAKE 1
99999-03037-00
Unavailable
2
MSTR CYLND SUB ASY
2VN-25870-01-00
Unavailable
10
WASHER, PLATE(481)
90201-10118-00
Unavailable
