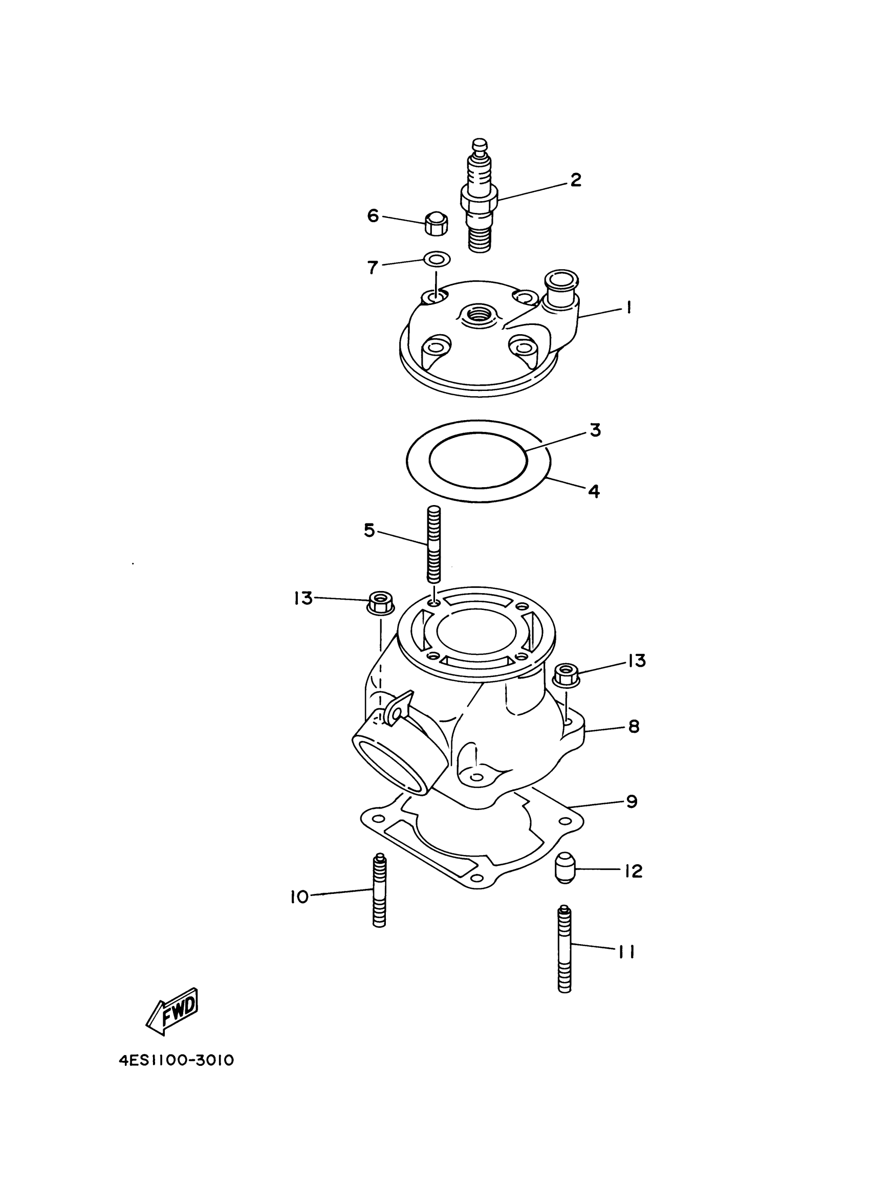
Yamaha YZ80M1 (YZ80) 4ES9 2000 CYLINDER Diagram
#
Description
Price
1
HEAD, CYLINDER 1
4LC-11111-00-00
Unavailable
2
PLUG, SPARK (NGK BR10EG)
BR1-0EG00-00-00
Unavailable
8
CYLINDER 1
4ES-11311-30-00
Unavailable
