Yamaha YZ80L1 (YZ80) 4ES8 1999 CYLINDER Diagram
#
Description
Price
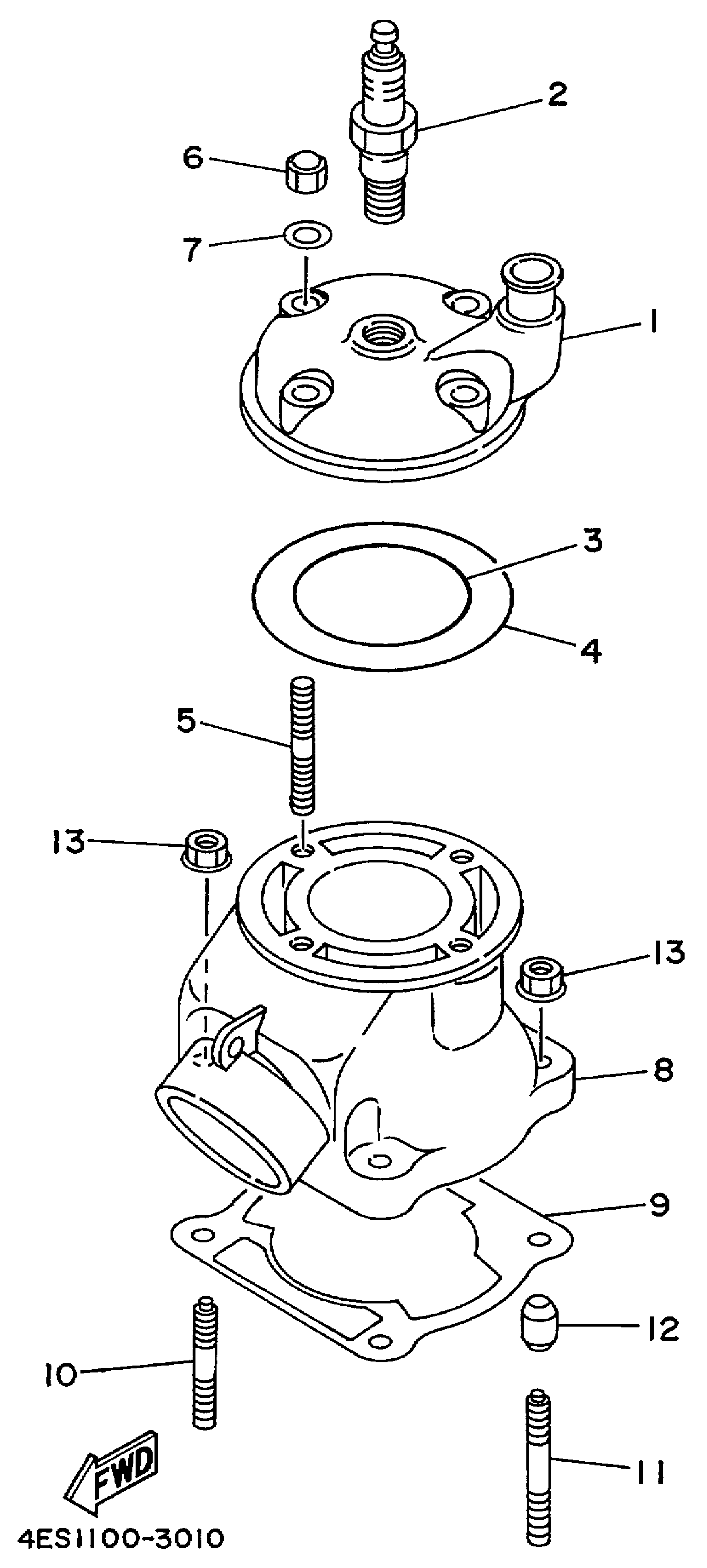
1
HEAD, CYLINDER 1
4LC-11111-00-00
Unavailable
2
B10EG NGK SPLUG 4PK
B10-EG000-00-00
Unavailable
8
CYLINDER 1
4ES-11311-30-00
Unavailable
