- Partiron
- OEM Parts
- Yamaha
- motorcycle
- 1998
- YZ80K1 (YZ80) 1998
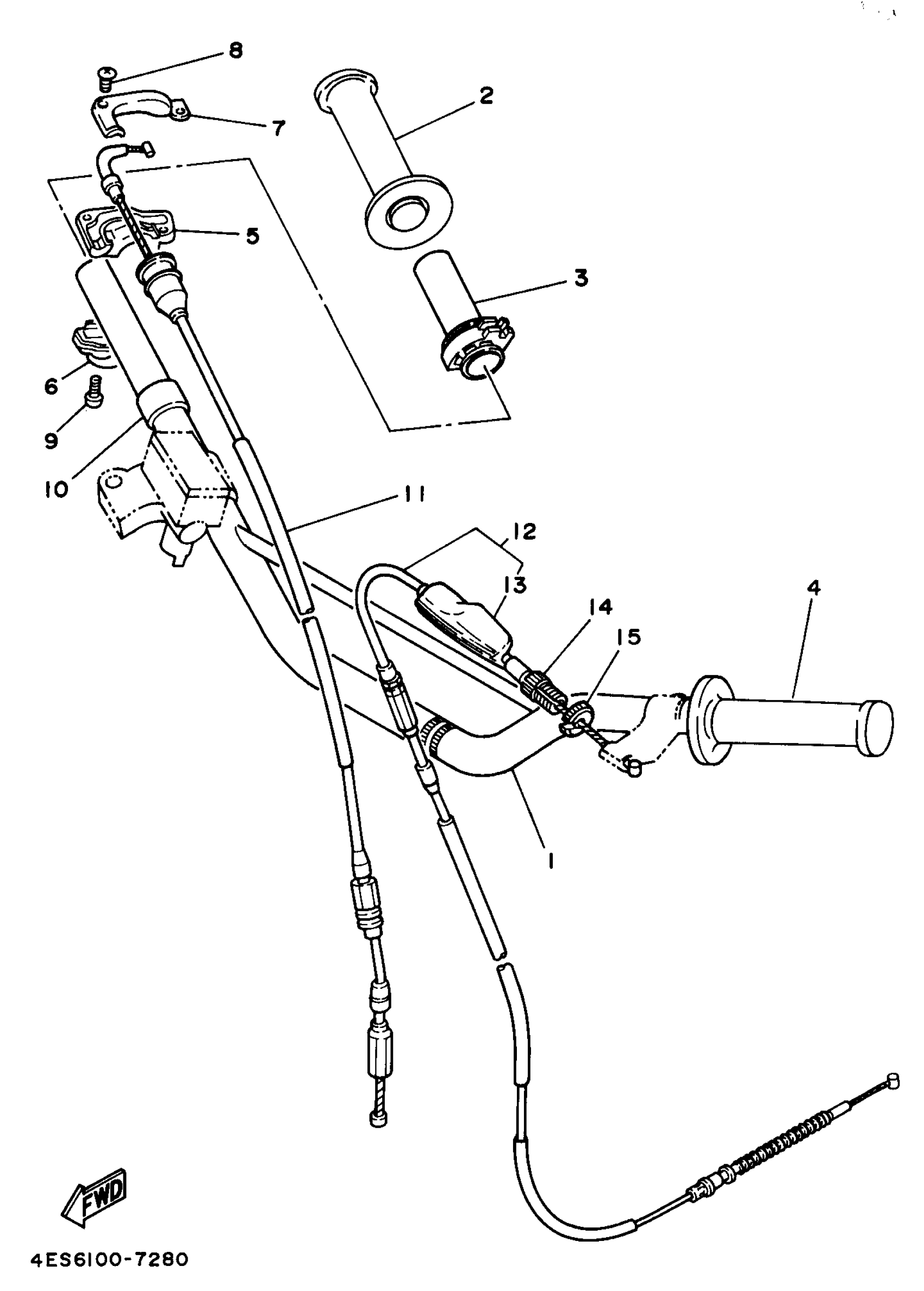
STEERING HANDLE CABLE
Yamaha YZ80K1 (YZ80) 1998 STEERING HANDLE CABLE Diagram
#
Description
Price
1
HANDLEBAR
4ES-26111-30-00
Unavailable
10
COLLAR (13X)
90387-220G4-00
Unavailable
13
COVER, LEVER
498-26372-00-00
Unavailable
