- Partiron
- OEM Parts
- Yamaha
- motorcycle
- 1997
- YZ80J1 (YZ80) 1997
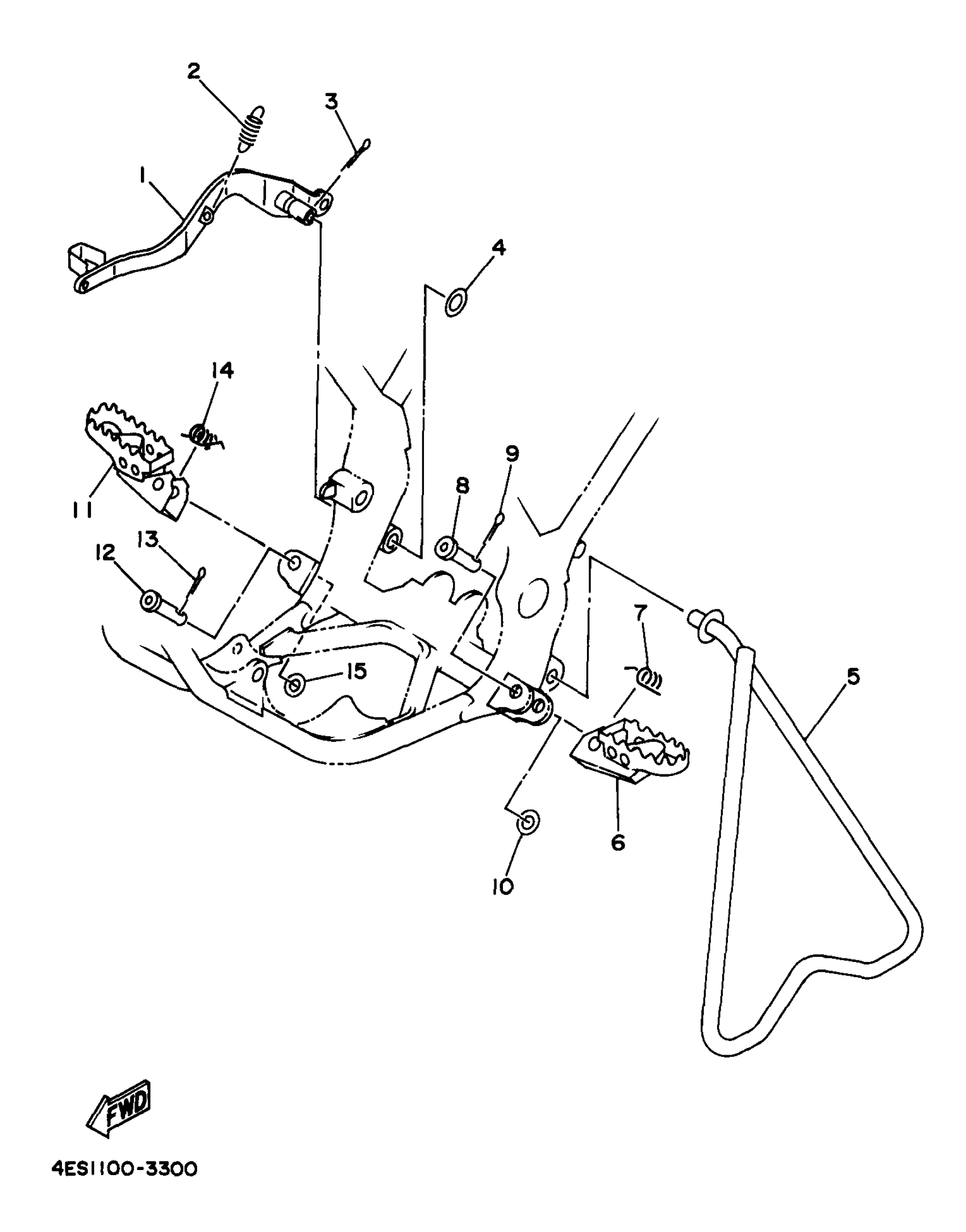
STAND FOOTREST
Yamaha YZ80J1 (YZ80) 1997 STAND FOOTREST Diagram
#
Description
Price
1
PEDAL, BRAKE
4ES-27211-00-00
Unavailable
5
STAND,SIDE
4ES-27311-00-00
Unavailable
6
FOOTREST 1
3LD-27411-10-00
Unavailable
10
WASHER, PLAIN(735)
90201-10119-00
Unavailable
11
FOOTREST 2
4DA-27421-00-00
Unavailable
15
WASHER, PLAIN(735)
90201-10119-00
Unavailable
