- Partiron
- OEM Parts
- Yamaha
- motorcycle
- 1995
- YZ80G1 (YZ80G1) 1995
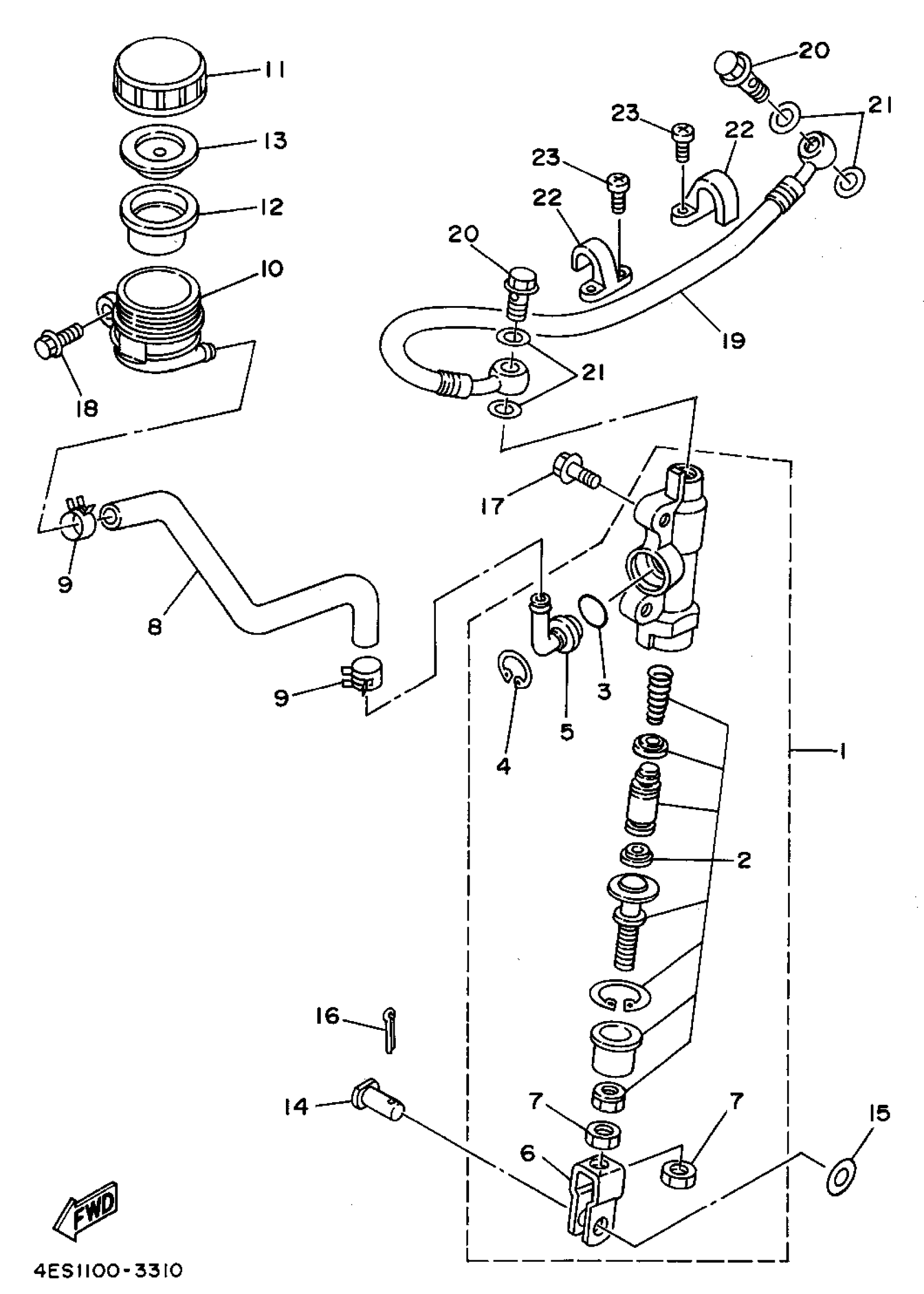
REAR MASTER CYLINDER
Yamaha YZ80G1 (YZ80G1) 1995 REAR MASTER CYLINDER Diagram
#
Description
Price
16
PIN, COTTER
91490-16020-00
Unavailable
17
BOLT, WASHER BASED(JA9)
90105-06696-00
Unavailable
18
BOLT, FLANGE(4MY)
95027-06012-00
Unavailable
19
HOSE, BRAKE 2
4ES-25873-01-00
Unavailable
20
BOLT, UNION(3GM)
90401-10159-00
Unavailable
21
WASHER, PLATE(481)
90201-10118-00
Unavailable
22
HOLDER, BRAKE HOSE 2
2VM-25876-00-00
Unavailable
23
SCREW, TAPPING(6U1)
97780-50610-00
Unavailable
