- Partiron
- OEM Parts
- Yamaha
- motorcycle
- 1980
- YZ80G (YZ80G_H_J) 1980
SHIFT CAM FORK YZ80G
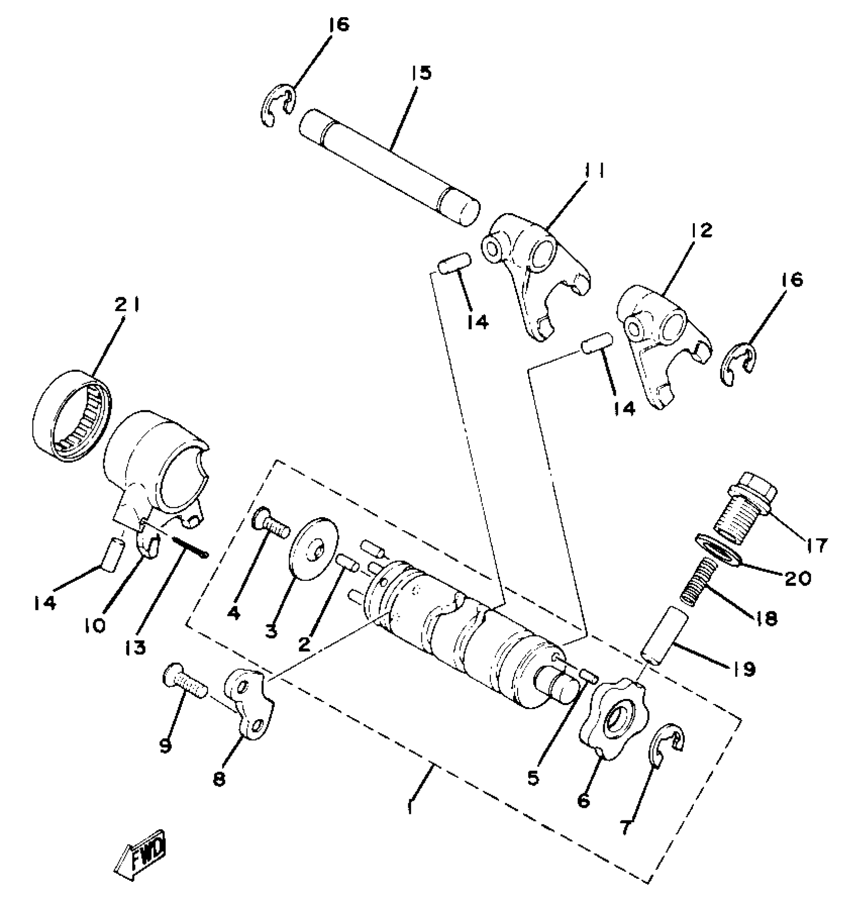
Yamaha YZ80G (YZ80G_H_J) 1980 SHIFT CAM FORK YZ80G Diagram
#
Description
Price
1
SHIFT CAM ASSEMBLY
3R1-18540-00-00
Unavailable
3
PLATE, SIDE 1
214-18561-00-00
Unavailable
6
PLATE, STOPPER
(2X6-18141-00-00)
Unavailable
7
CIRCLIP, OUTER
93440-12026-00
Unavailable
8
PLATE, STOPPER 2
353-18562-00-00
Unavailable
9
SCREW, OVAL HEAD (92701-06012)
98603-06012-00
Unavailable
10
FORK, SHIFT 1
(2X6-18511-00-00)
Unavailable
11
FORK, SHIFT 2
2X6-18512-00-00
Unavailable
12
FORK, SHIFT 3
2X6-18513-00-00
Unavailable
15
BAR, SHIF FRK GDE 1
(2X6-18531-00-00)
Unavailable
16
CIRCLIP
99006-10600-00
Unavailable
17
BOLT (1K8)
90109-14485-00
Unavailable
18
SPRING, COMPRESSION
90501-09292-00
Unavailable
19
STOPPER, CAM
353-18547-00-00
Unavailable
20
WASHER, PROTECTOR
4F4-14766-00-00
Unavailable
21
BRG,CYL-CAL ROLLER 18G KY
93315-23208-00
Unavailable
