- Partiron
- OEM Parts
- Yamaha
- motorcycle
- 1994
- YZ80F1 (YZ80F1) 1994
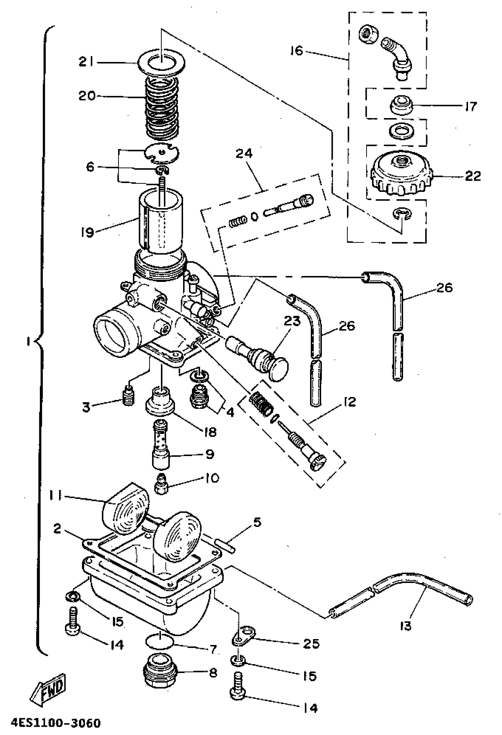
CARBURETOR
Yamaha YZ80F1 (YZ80F1) 1994 CARBURETOR Diagram
#
1
CARBURETOR
4ES-14101-01-00
Unavailable
6
. NEEDLE SET
58T-1490J-00-00
Unavailable
8
. PLUG, SCREW
3R1-14115-00-00
Unavailable
9
. NOZZLE, MAIN
3R1-14141-50-00
Unavailable
9
. NOZZLE, MAIN
3R1-14141-52-00
Unavailable
9
. NOZZLE, MAIN
3R1-14141-54-00
Unavailable
10
JET, MAIN #280
137-14143-56-A0
Unavailable
10
JET, MAIN #290
137-14143-58-A1
Unavailable
10
JET, MAIN #300
137-14143-60-A0
Unavailable
11
FLOAT
314-14185-00-00
Unavailable
12
THROTTLE SCREW SET
31J-14103-00-00
Unavailable
13
PIPE 1
3XV-14348-20-00
Unavailable
14
SCREW, PAN HEAD
98517-04016-00
Unavailable
15
YBS67-4 WASHER, SPRING
92990-04100-00
Unavailable
16
. CABLE ADJUST SCREW SET
22W-14106-00-00
Unavailable
17
CAP
3X3-14169-00-00
Unavailable
18
. WASHER, MAIN JET
39K-14153-00-00
Unavailable
19
. VALVE, THROTTLE 1
2X6-14112-25-00
Unavailable
19
. VALVE, THROTTLE 1
2X6-14112-30-00
Unavailable
19
. VALVE, THROTTLE 1
2X6-14112-35-00
Unavailable
20
SPRING, THROTTLE VALVE
248-14131-00-00
Unavailable
21
GASKET
2A6-14126-00-00
Unavailable
22
. TOP, MIXING CHAMBER
2A6-14158-00-00
Unavailable
23
. PLUNGER, STARTER
3SB-14171-00-00
Unavailable
24
AIR SCREW SET
10W-14104-00-00
Unavailable
25
PLATE
132-14146-00-00
Unavailable
26
PIPE
55X-14196-00-00
Unavailable
