Partiron

Yamaha YZ80B (YZ80B) 1975 ELECTRICAL 1 Diagram

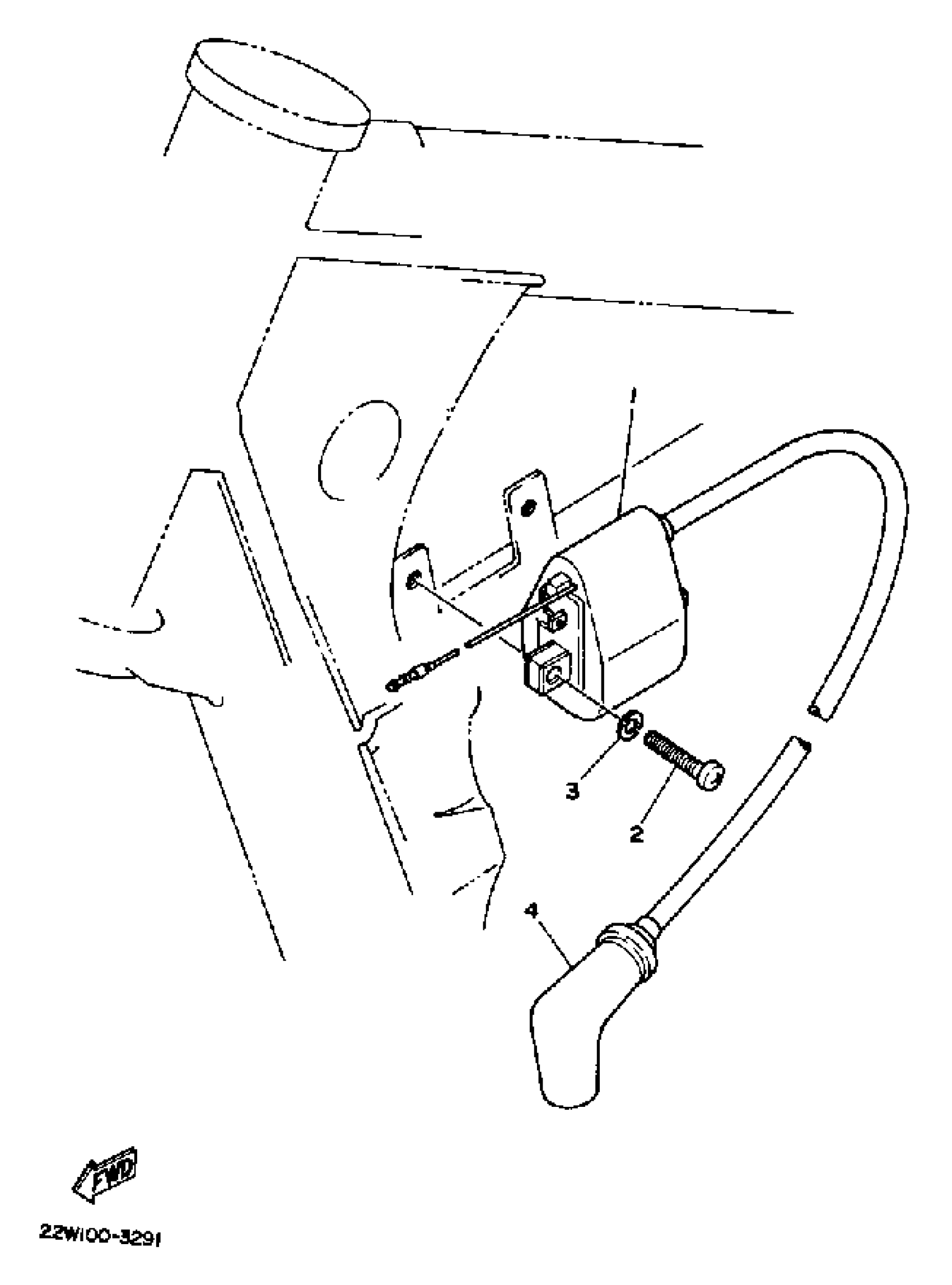
#

Description
Price

1

IGNITION COIL ASSY

3SR-82310-10-00

Unavailable

2

SCREW PAN HEAD

98580-06020-00

$8.49

3

WASHER, SPRING

92995-06100-00

Unavailable

4

PLUG CAP ASSY

8DG-82370-00-00

$49.99

4

PLUG CAP ASSY

8DG-82370-00-00

$49.99