- Partiron
- OEM Parts
- Yamaha
- motorcycle
- 2026
- YZ65T (YZ65) D995 2026
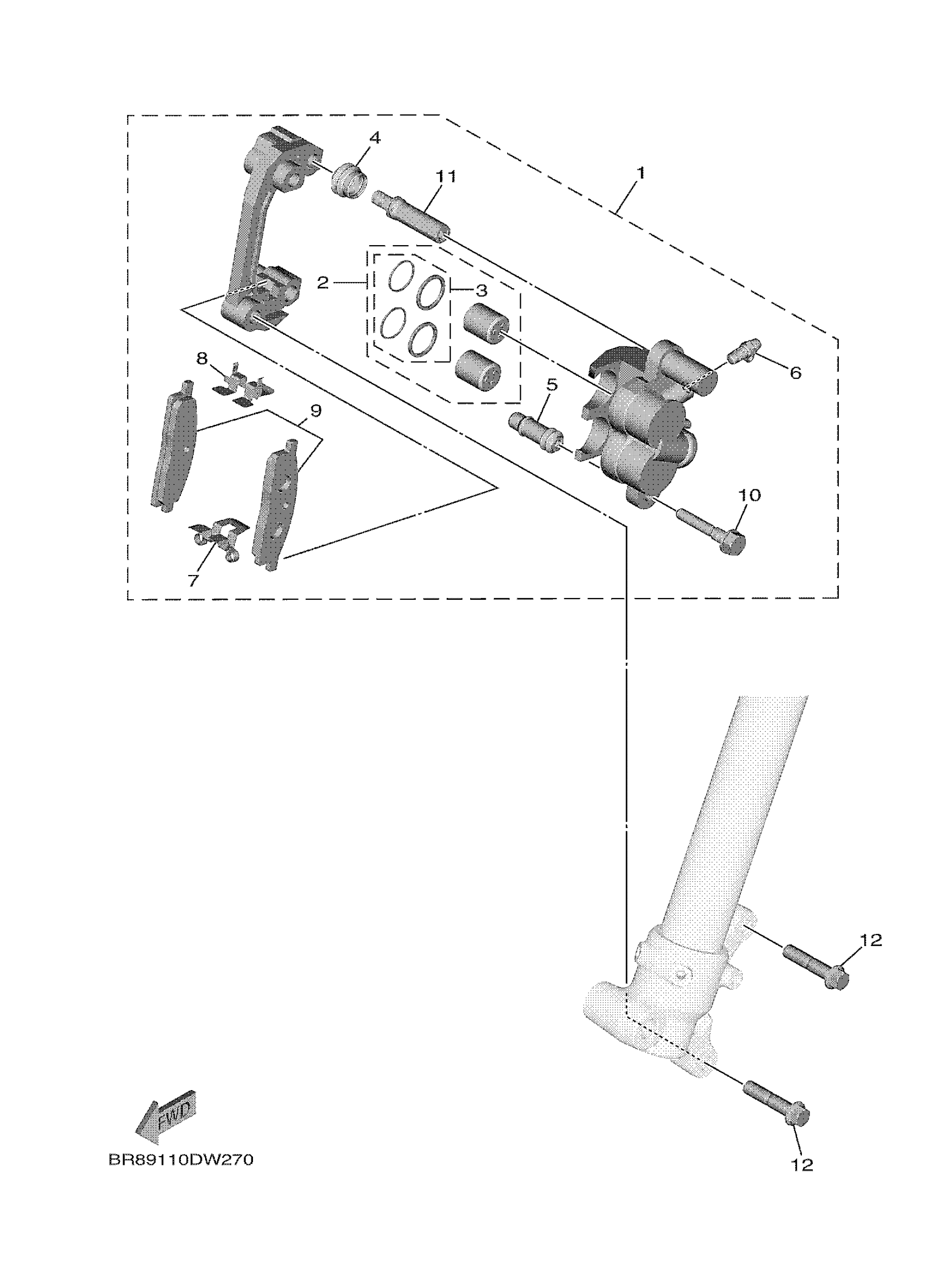
FRONT BRAKE CALIPER
Yamaha YZ65T (YZ65) D995 2026 FRONT BRAKE CALIPER Diagram
#
Description
Price
FRONT BRAKE CALIPER
#
Edit ride
