- Partiron
- OEM Parts
- Yamaha
- motorcycle
- 2025
- YZ65S (YZ65) D991 2025
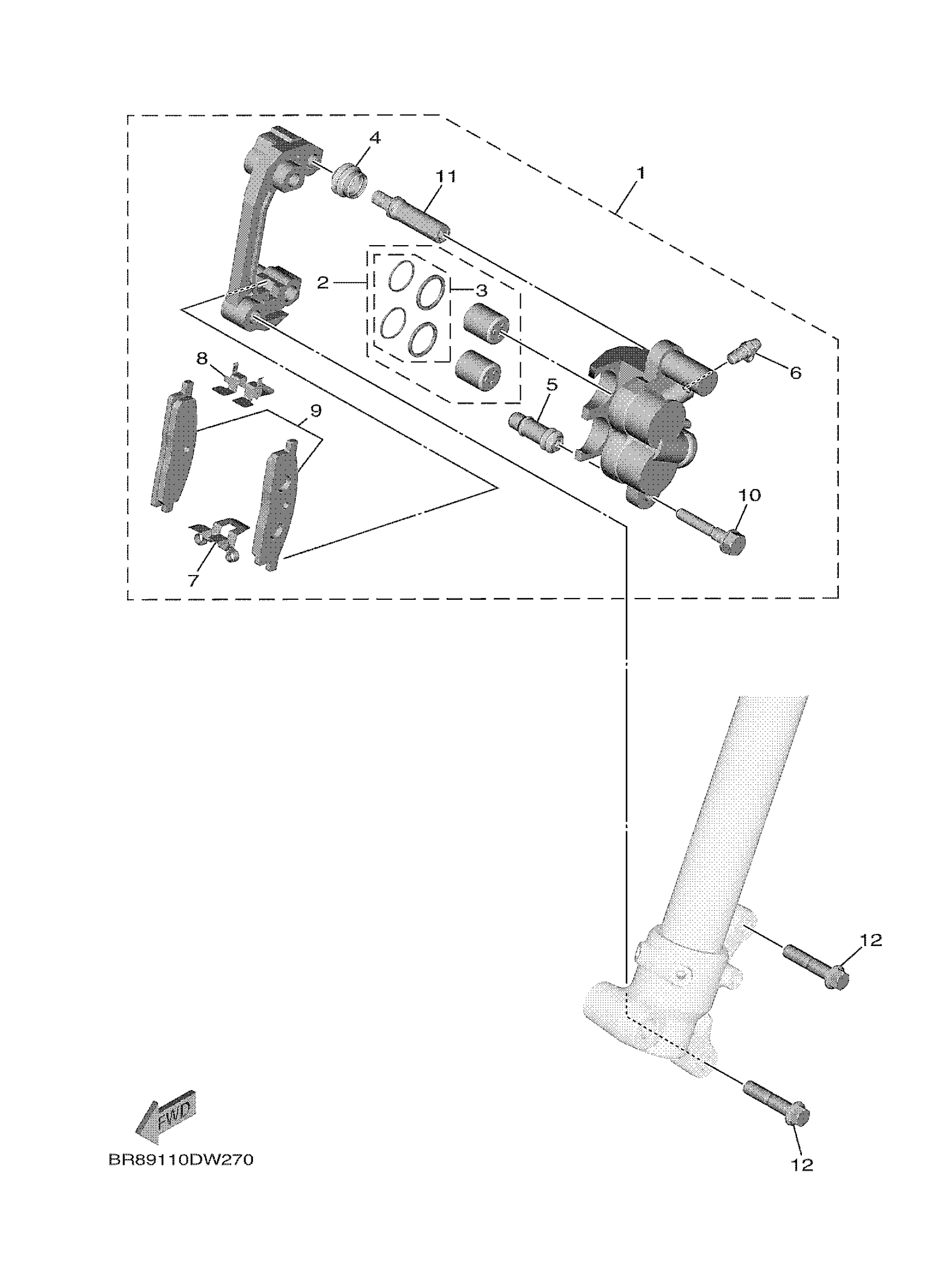
FRONT BRAKE CALIPER
Yamaha YZ65S (YZ65) D991 2025 FRONT BRAKE CALIPER Diagram
#
Description
Price
FRONT BRAKE CALIPER
#
Edit ride
