- Partiron
- OEM Parts
- Yamaha
- motorcycle
- 2024
- YZ65R (YZ65) BR8S 2024
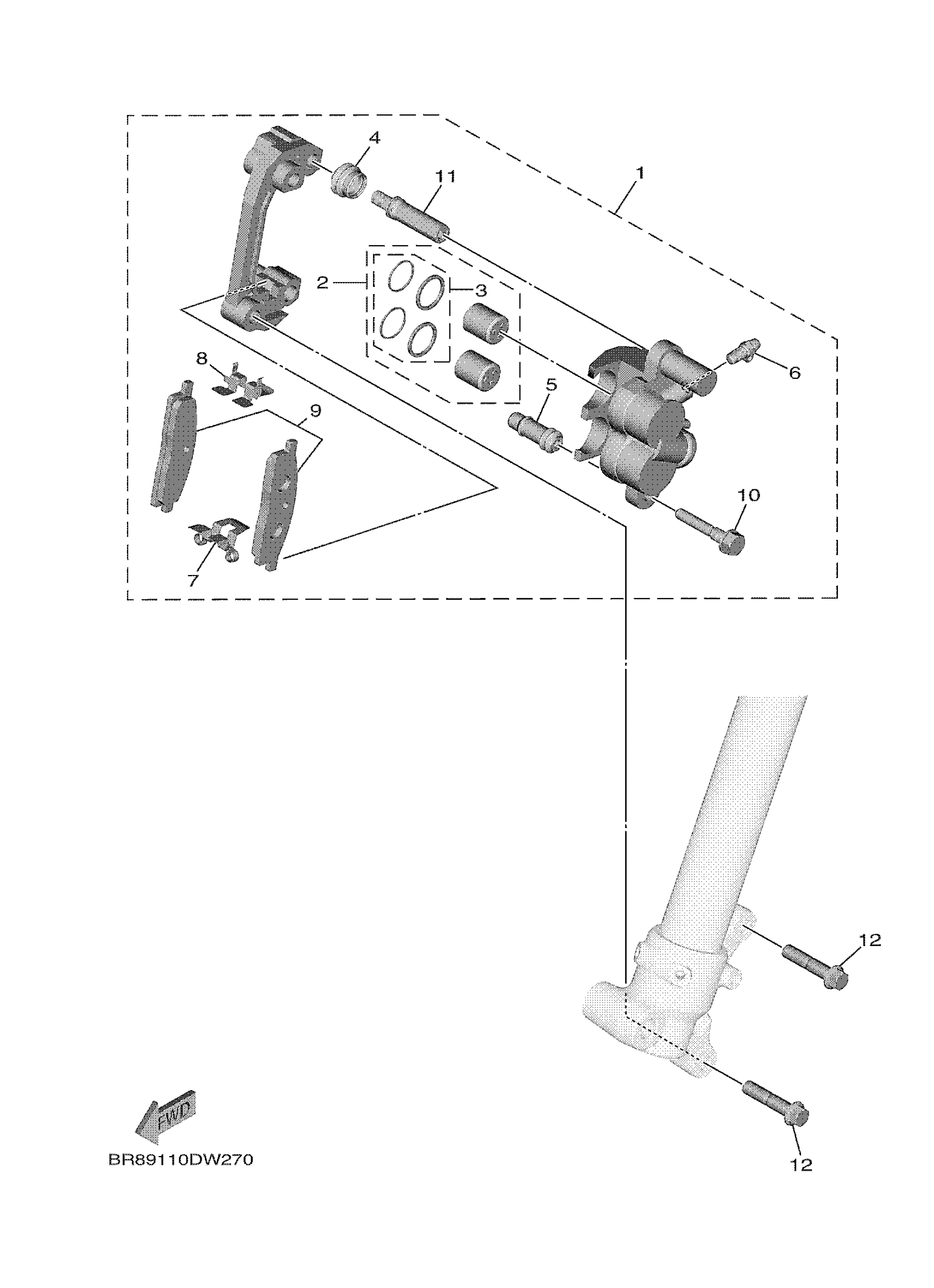
FRONT BRAKE CALIPER
Yamaha YZ65R (YZ65) BR8S 2024 FRONT BRAKE CALIPER Diagram
#
Description
Price
FRONT BRAKE CALIPER
#
Edit ride
