- Partiron
- OEM Parts
- Yamaha
- motorcycle
- 2023
- YZ65P (YZ65) BR8L 2023
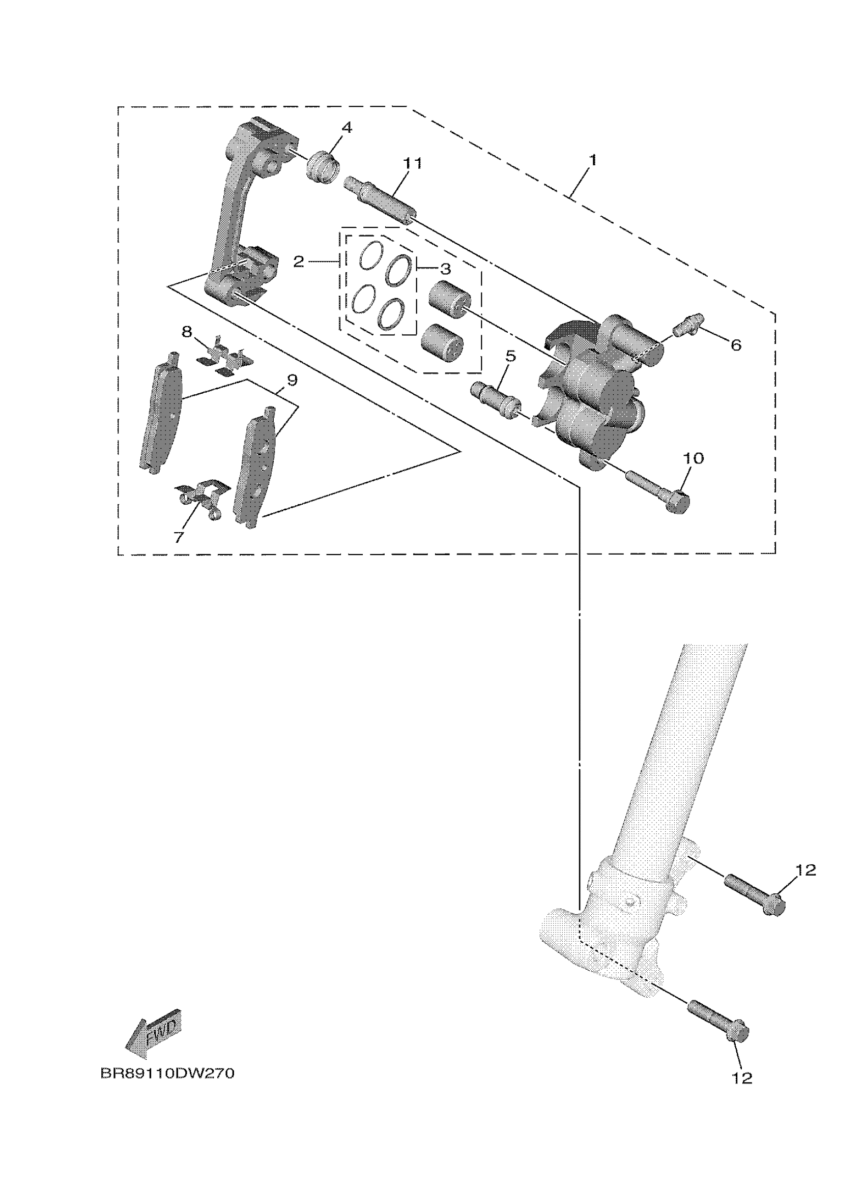
FRONT BRAKE CALIPER
Yamaha YZ65P (YZ65) BR8L 2023 FRONT BRAKE CALIPER Diagram
#
Description
Price
FRONT BRAKE CALIPER
#
Edit ride
