- Partiron
- OEM Parts
- Yamaha
- motorcycle
- 2022
- YZ65N (YZ65) BR8E 2022
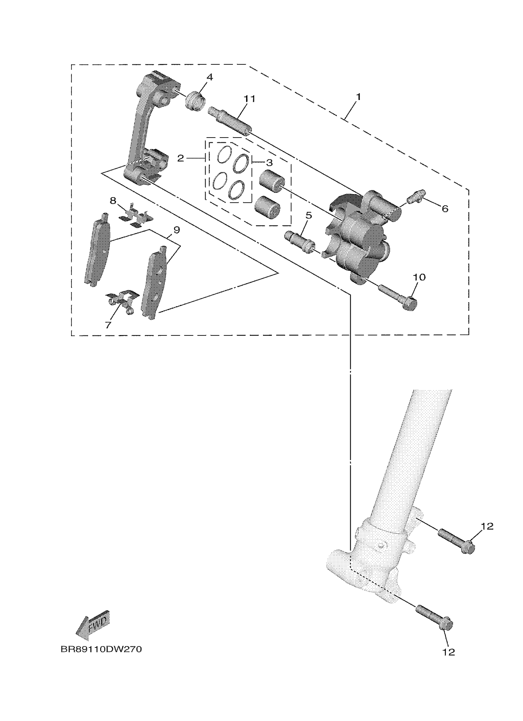
FRONT BRAKE CALIPER
Yamaha YZ65N (YZ65) BR8E 2022 FRONT BRAKE CALIPER Diagram
#
Description
Price
FRONT BRAKE CALIPER
#
Edit ride
