- Partiron
- OEM Parts
- Yamaha
- motorcycle
- 1988
- YZ490U (YZ490U) 1988
SIDE COVER
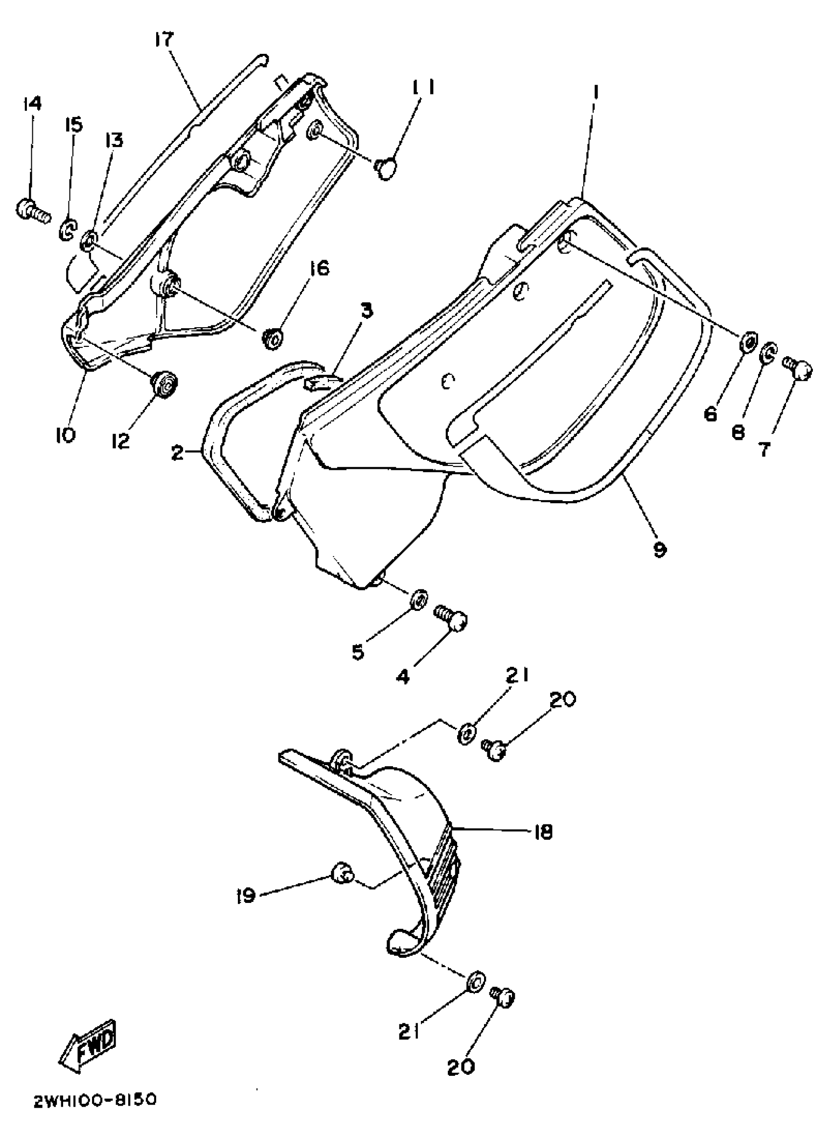
Yamaha YZ490U (YZ490U) 1988 SIDE COVER Diagram
#
Description
Price
1
COVER, SIDE LEFT
1LX-21711-01-98
Unavailable
2
SEAL
39W-14452-00-00
Unavailable
3
SEAL
39X-14452-00-00
Unavailable
8
WASHER, SPRING
92995-06100-00
Unavailable
9
GRAPHIC SET 1
2VN-2173L-00-00
Unavailable
10
UNAVAILABLE IN PRICE BOOK
1LV-21721-01-00
Unavailable
15
WASHER, SPRING
92995-06100-00
Unavailable
16
COLLAR(47X)
90387-061M0-00
Unavailable
17
GRAPHIC SET 2
2VN-2174L-00-00
Unavailable
18
SCOOP, AIR 1
43R-2137W-00-00
Unavailable
21
WASHER, PLATE (4L0)
90201-062A8-00
Unavailable
