- Partiron
- OEM Parts
- Yamaha
- motorcycle
- 1988
- YZ490U (YZ490U) 1988
CARBURETOR
Yamaha YZ490U (YZ490U) 1988 CARBURETOR Diagram
#
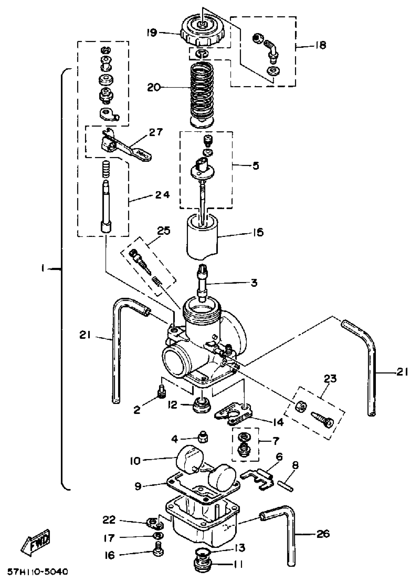
1
CARBURETOR ASSEMBLY1
2HJ-14101-10-00
Unavailable
2
. JET, PILOT #40
193-14142-40-A1
Unavailable
2
. JET, PILOT (#45)
193-14142-45-A1
Unavailable
3
. NOZZLE, MAIN Q-4
8A7-14141-54-00
Unavailable
3
. NOZZLE, MAIN Q-6
8A7-14141-56-00
Unavailable
3
. NOZZLE, MAIN Q-8
8A7-14141-58-00
Unavailable
5
. NEEDLE SET
2HJ-1490J-00-00
Unavailable
6
. ARM, FLOAT
40T-14187-00-00
Unavailable
8
PIN, FLOAT
537-14186-00-00
Unavailable
9
GASKET, FLOAT CHAMBER BODY
363-14184-00-00
Unavailable
10
. FLOAT
214-14185-00-00
Unavailable
11
. PLUG, SCREW
40T-14115-00-00
Unavailable
12
. WASHER, MAIN JET
3R3-14153-00-00
Unavailable
13
WASHER,SCREW PLUG
278-14117-00-00
Unavailable
14
PLATE
(40T-14146-00-00)
Unavailable
15
. VALVE, THROTTLE 1 25
40T-14112-25-00
Unavailable
15
. VALVE, THROTTLE 1 30
40T-14112-30-00
Unavailable
15
. VALVE, THROTTLE
40T-14112-35-00
Unavailable
16
SCREW, PAN HEAD(6B0)
97885-05016-00
Unavailable
17
YBS67-5 WASHER, SPRING
92990-05100-00
Unavailable
18
. CABLE ADJUST SET SCREW
40T-14106-00-00
Unavailable
19
. TOP, MIXING CHAMBER
40T-14158-00-00
Unavailable
20
. SPRING, THROTTLE VALVE
8H0-14131-00-00
Unavailable
21
PIPE, OVER FLOW
2J2-14196-00-00
Unavailable
22
. PLATE
313-14146-00-00
Unavailable
23
THROTTLE SCREW SET
40T-14103-00-00
Unavailable
24
. STARTER SET
57H-1410A-00-00
Unavailable
25
AIR SCREW SET
23X-14104-00-00
Unavailable
26
HOSE
88R-14987-00-00
Unavailable
27
. LEVER, STARTER 1
57H-14175-00-00
Unavailable
