- Partiron
- OEM Parts
- Yamaha
- motorcycle
- 1987
- YZ490T (YZ490T) 1987
SIDE COVER
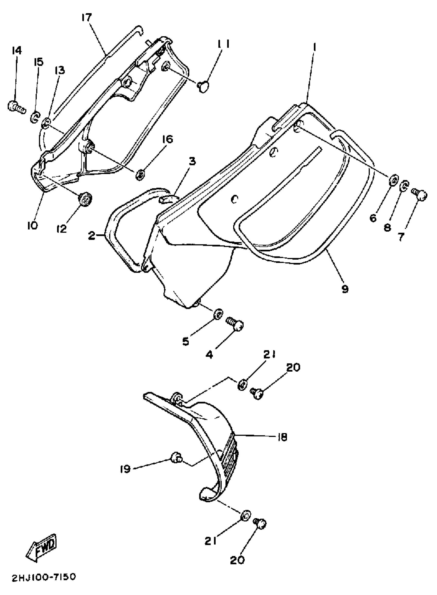
Yamaha YZ490T (YZ490T) 1987 SIDE COVER Diagram
#
Description
Price
1
COVER, SIDE LEFT
1LX-21711-01-98
Unavailable
2
SEAL
39W-14452-00-00
Unavailable
3
SEAL
39X-14452-00-00
Unavailable
8
WASHER, SPRING
92995-06100-00
Unavailable
9
GRAPHIC SET 1
2HH-2173L-00-00
Unavailable
10
COVER, SIDE 2 (2HG)
99999-01787-00
Unavailable
15
WASHER, SPRING
92995-06100-00
Unavailable
16
WASHER, PLAIN
92990-08200-00
Unavailable
17
GRAPHIC SET 2
2HH-2174L-00-00
Unavailable
18
SCOOP, AIR 1
43R-2137W-00-00
Unavailable
21
WASHER, PLATE (4L0)
90201-062A8-00
Unavailable
