Partiron

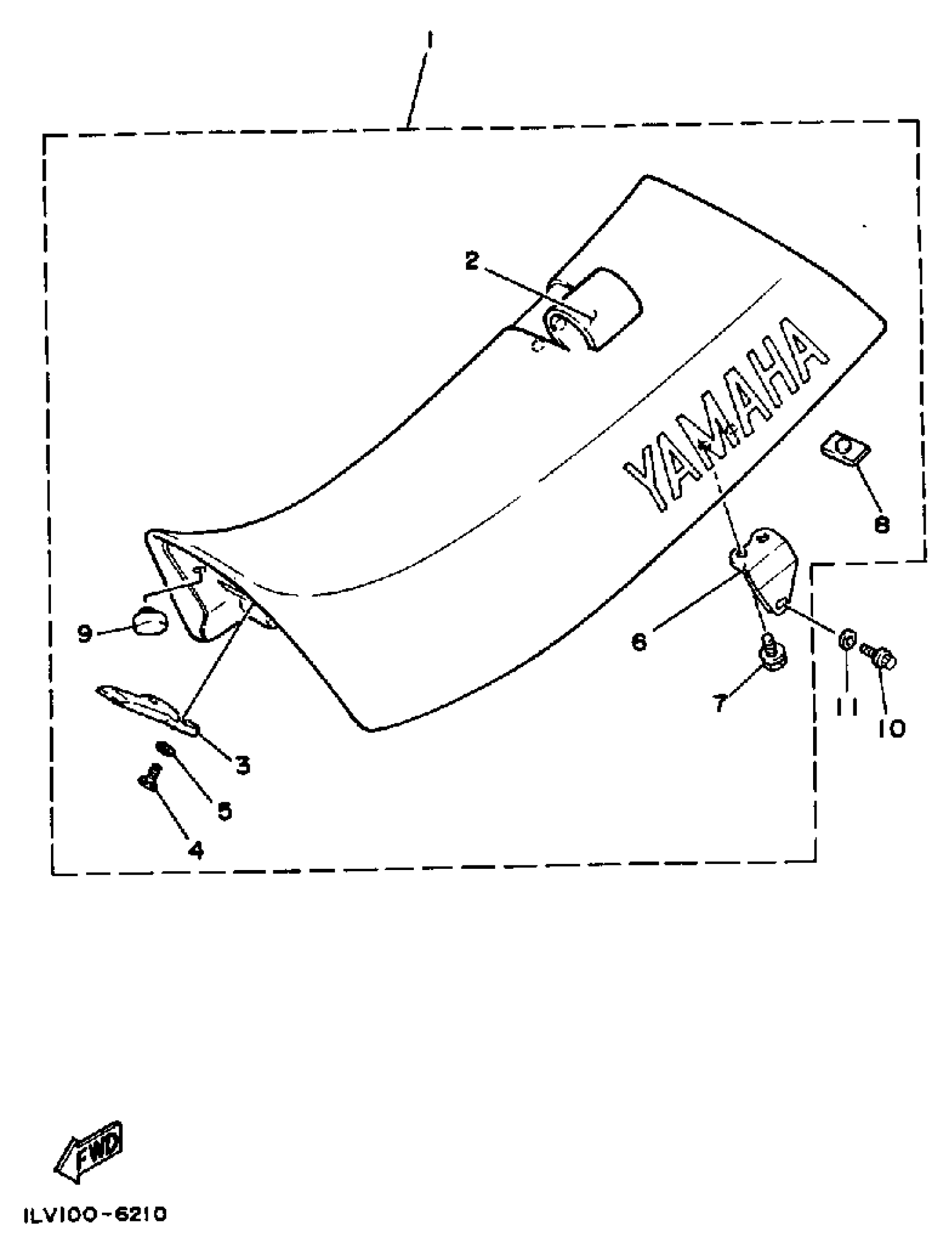
Yamaha YZ490S (YZ490) 1986 SEAT Diagram

#

Description
Price

1

SEMI-DOUBLE SEAT ASSEMBLY

1LX-24770-10-00

Unavailable

2

. COVER, SEAT

1LX-24731-10-00

Unavailable

3

. BRACKET, SEAT

5X6-24748-10-00

Unavailable

4

SCREW, PAN HEAD(62J)

97885-06012-00

Unavailable

5

WASHER, PLATE (4H7)

90201-061A5-00

$7.49

6

. BRACKET, SEAT

1LX-24738-01-00

Unavailable

7

BOLT, FLANGE

95817-06012-00

$1.43

8

DAMPER, SEAT

509-24724-00-00

$10.99

9

. PAD, SEAT

107-24741-00-00

Unavailable

10

BOLT, FLANGE (3JPE)

95024-08016-00

$9.49

11

WASHER, PLATE (12X)

90201-087F0-00

$5.60