- Partiron
- OEM Parts
- Yamaha
- motorcycle
- 1982
- YZ490J (YZ490J) 1982
CARBURETOR
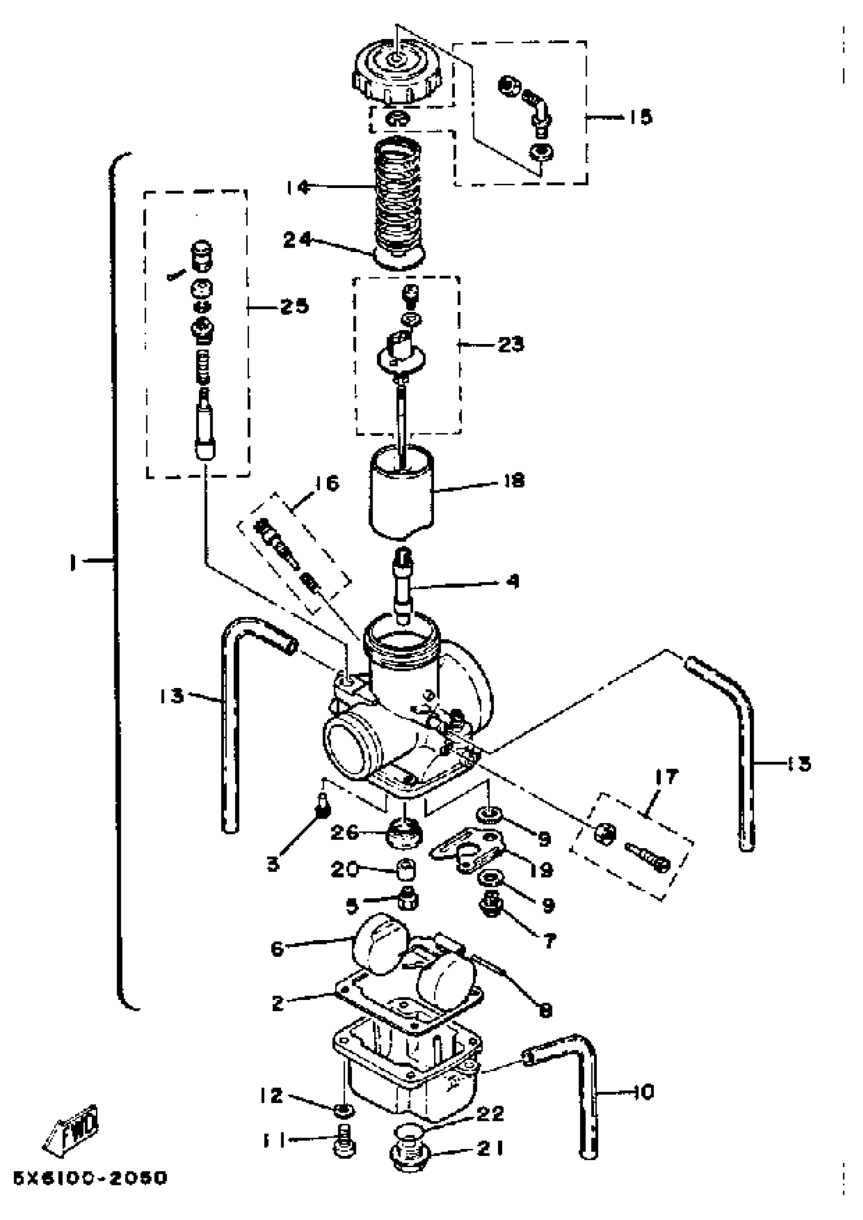
Yamaha YZ490J (YZ490J) 1982 CARBURETOR Diagram
#
Description
Price
1
CARBURETOR ASSEMBLY 1
5X6-14101-00-00
Unavailable
4
. NOZZLE, MAIN
510-14141-58-00
Unavailable
9
WASHER,VALVE SEAT
239-14195-00-00
Unavailable
10
HOSE
88R-14987-00-00
Unavailable
11
SCREW, PAN HEAD(6B0)
97885-05016-00
Unavailable
14
. SPRING, THROTTLE VALVE
431-14131-00-00
Unavailable
15
. ADJUSTER SET
3R4-W1415-00-00
Unavailable
16
AIR SCREW SET
23X-14104-00-00
Unavailable
17
. THROTTLE SCREW SET
2A0-W1411-00-00
Unavailable
18
. VALVE, THROTTLE 1
510-14112-30-00
Unavailable
19
. PLATE
3R4-14146-00-00
Unavailable
20
. SETTER, NEEDLE JET
509-14145-00-00
Unavailable
21
. PLUG, SCREW
510-14115-00-00
Unavailable
22
O-RING (541)
558-14147-00-00
Unavailable
23
. NEEDLE SET
239-W1418-01-00
Unavailable
24
. SEAT, SPRING
509-14136-00-00
Unavailable
25
. STARTER PLNGR SET
737-W1414-00-00
Unavailable
26
. WASHER, MAIN JET
5X5-14153-00-00
Unavailable
