- Partiron
- OEM Parts
- Yamaha
- motorcycle
- 1990
- YZ490A (YZ490A) 1990
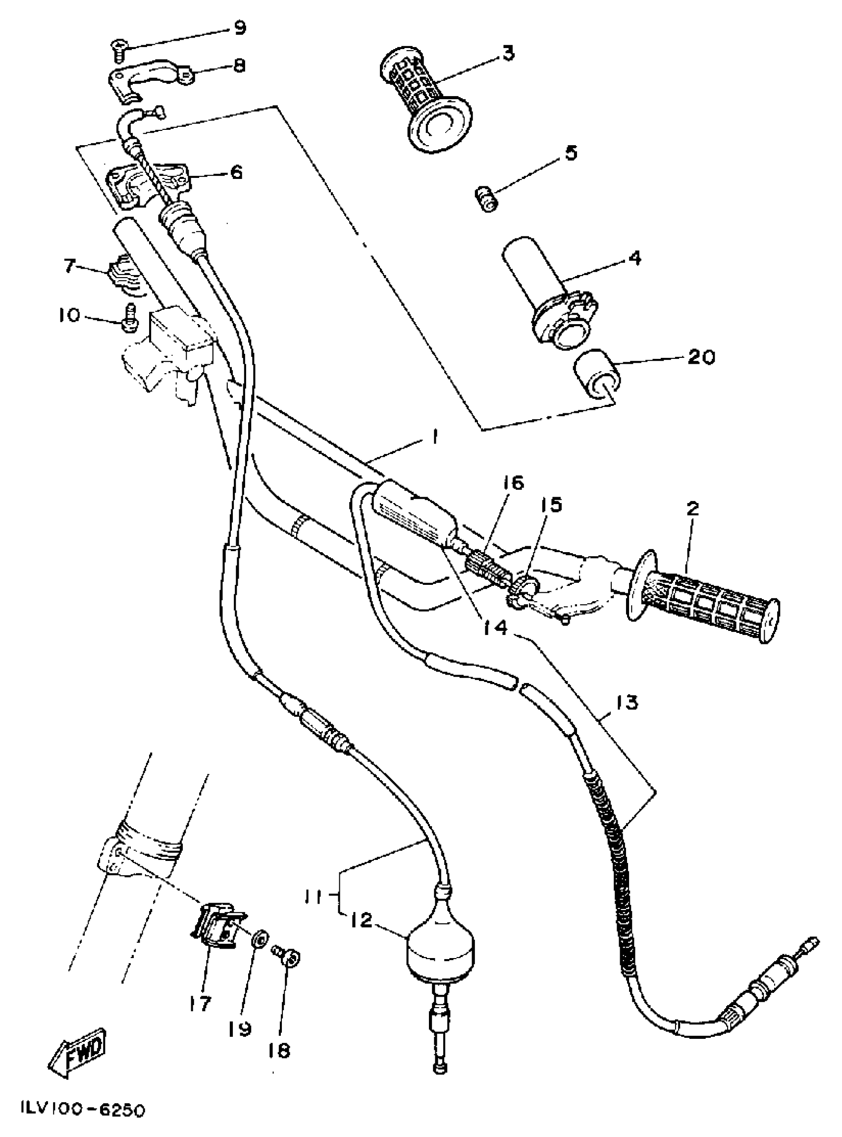
HANDLEBAR CABLE
Yamaha YZ490A (YZ490A) 1990 HANDLEBAR CABLE Diagram
#
Description
Price
1
HANDLEBAR
3SP-26111-00-00
Unavailable
10
SCREW, PAN HEAD
90157-05M19-00
Unavailable
11
CABLE, THROTTLE 1
40T-26311-00-00
Unavailable
13
CABLE, CLUTCH
1LV-26335-00-00
Unavailable
14
COVER, LEVER
498-26372-00-00
Unavailable
15
NUT
90179-08401-00
Unavailable
16
BOLT (23X)
90123-08090-00
Unavailable
17
CLAMP(26A)
90465-16258-00
Unavailable
18
BOLT, SOCKET
91314-06016-00
Unavailable
19
WASHER, PLAIN (646)
92990-06600-00
Unavailable
20
SPACER(1LX)
90560-22281-00
Unavailable
