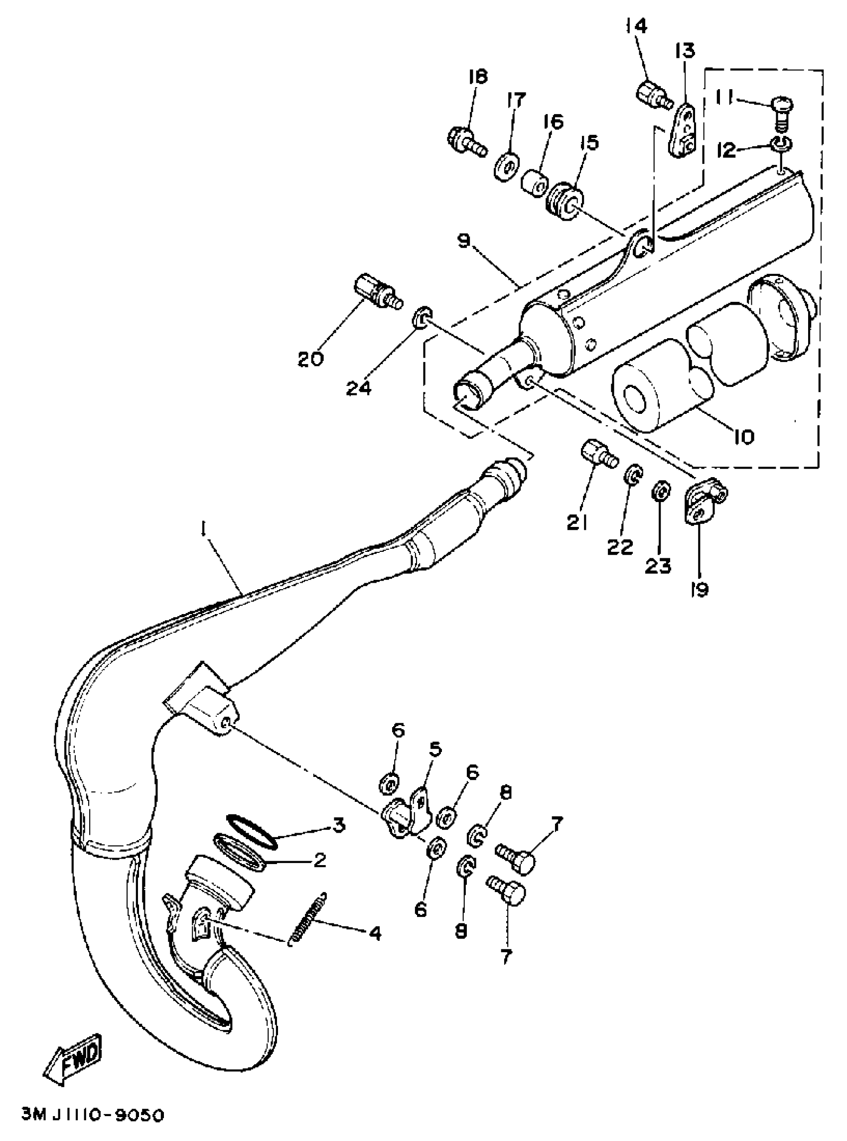
Yamaha YZ490A (YZ490A) 1990 EXHAUST Diagram
#
Description
Price
1
EXHAUST PIPE ASSEMBLY L
2HJ-14610-00-00
Unavailable
2
GASKET, EXHAUST PIP
2HJ-14613-00-00
Unavailable
5
STAY, MUFFLER 1
40T-14771-00-00
Unavailable
9
SILENCER, EXHAUST
2HJ-14753-00-00
Unavailable
10
. FIBER
2HJ-1469A-00-00
Unavailable
12
WASHER, SPRING
92995-06100-00
Unavailable
13
BRACKET
1LX-14744-00-00
Unavailable
14
BOLT
90109-08573-00
Unavailable
15
DAMPER, MUFFLER
39X-14747-00-00
Unavailable
16
COLLAR
90387-081A3-00
Unavailable
17
WASHER, PLATE (1A0)
90201-08612-00
Unavailable
18
BOLT, FLANGE(4LN)
95817-08025-00
Unavailable
19
STAY, MUFFLER 1
565-14771-01-00
Unavailable
20
BOLT (3R4)
90109-06551-00
Unavailable
21
BOLT, HEXAGON DEEP RECESS
97D95-06016-00
Unavailable
22
WASHER, SPRING
92995-06100-00
Unavailable
23
WASHER, PLAIN (646)
92990-06600-00
Unavailable
24
WASHER, PLATE (8H9)
90201-06727-00
Unavailable
