- Partiron
- OEM Parts
- Yamaha
- motorcycle
- 2018
- YZ450FXJ (YZ450FX) B91B 2018
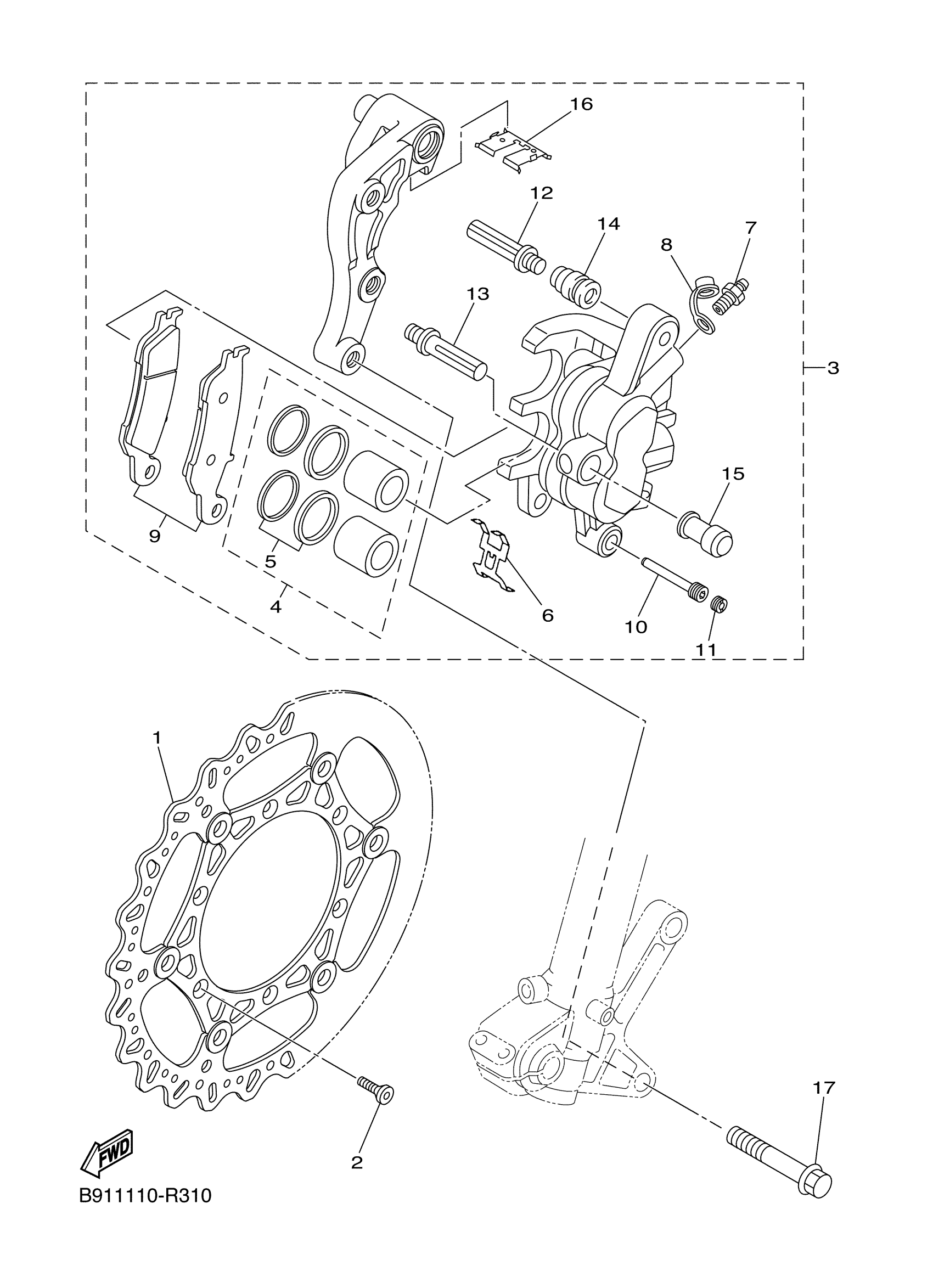
FRONT BRAKE CALIPER
Yamaha YZ450FXJ (YZ450FX) B91B 2018 FRONT BRAKE CALIPER Diagram
#
Description
Price
16
RETAINER, CALIPER
5XC-25849-G0-00
Unavailable
17
BOLT, FLANGE
90105-08137-00
Unavailable
