- Partiron
- OEM Parts
- Yamaha
- motorcycle
- 2007
- YZ450FW (YZ450F) 2S27 2007
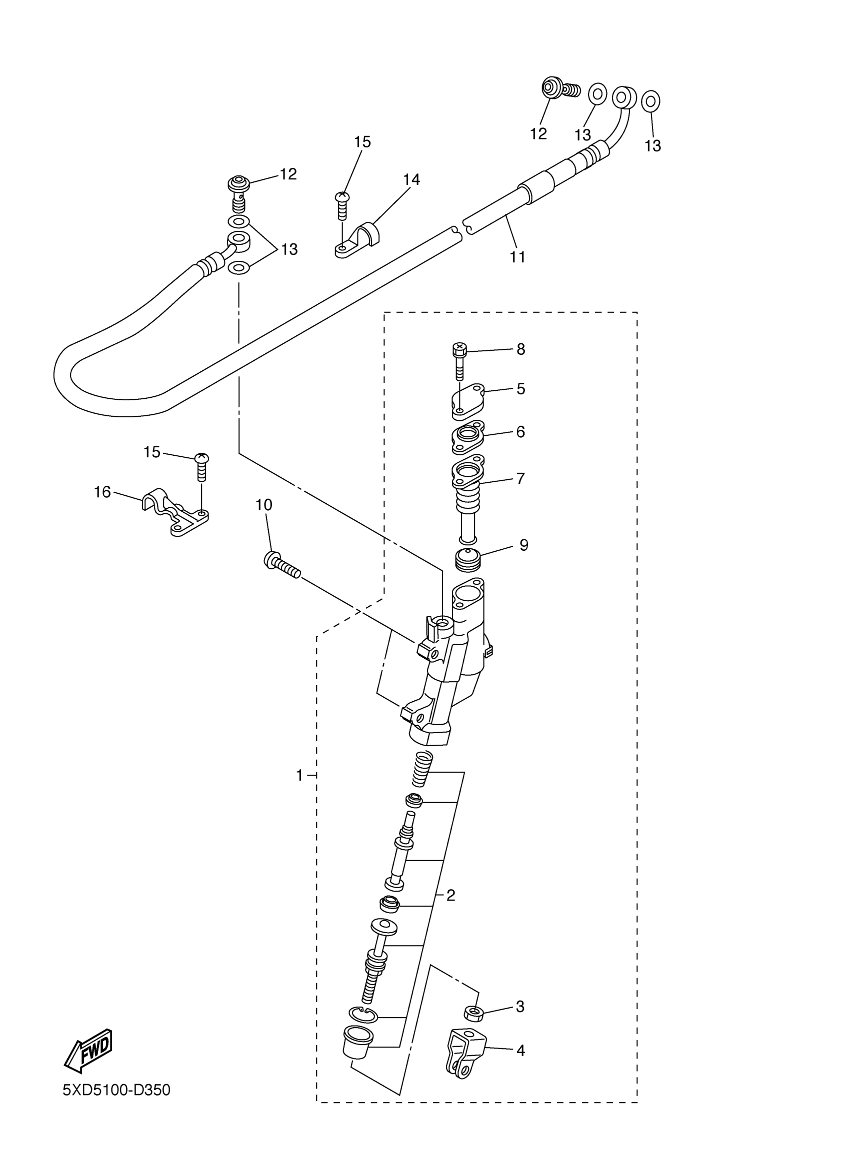
REAR MASTER CYLINDER
Yamaha YZ450FW (YZ450F) 2S27 2007 REAR MASTER CYLINDER Diagram
#
Description
Price
16
HOLDER, BRAKE HOSE 2
1C3-25876-50-00
Unavailable
