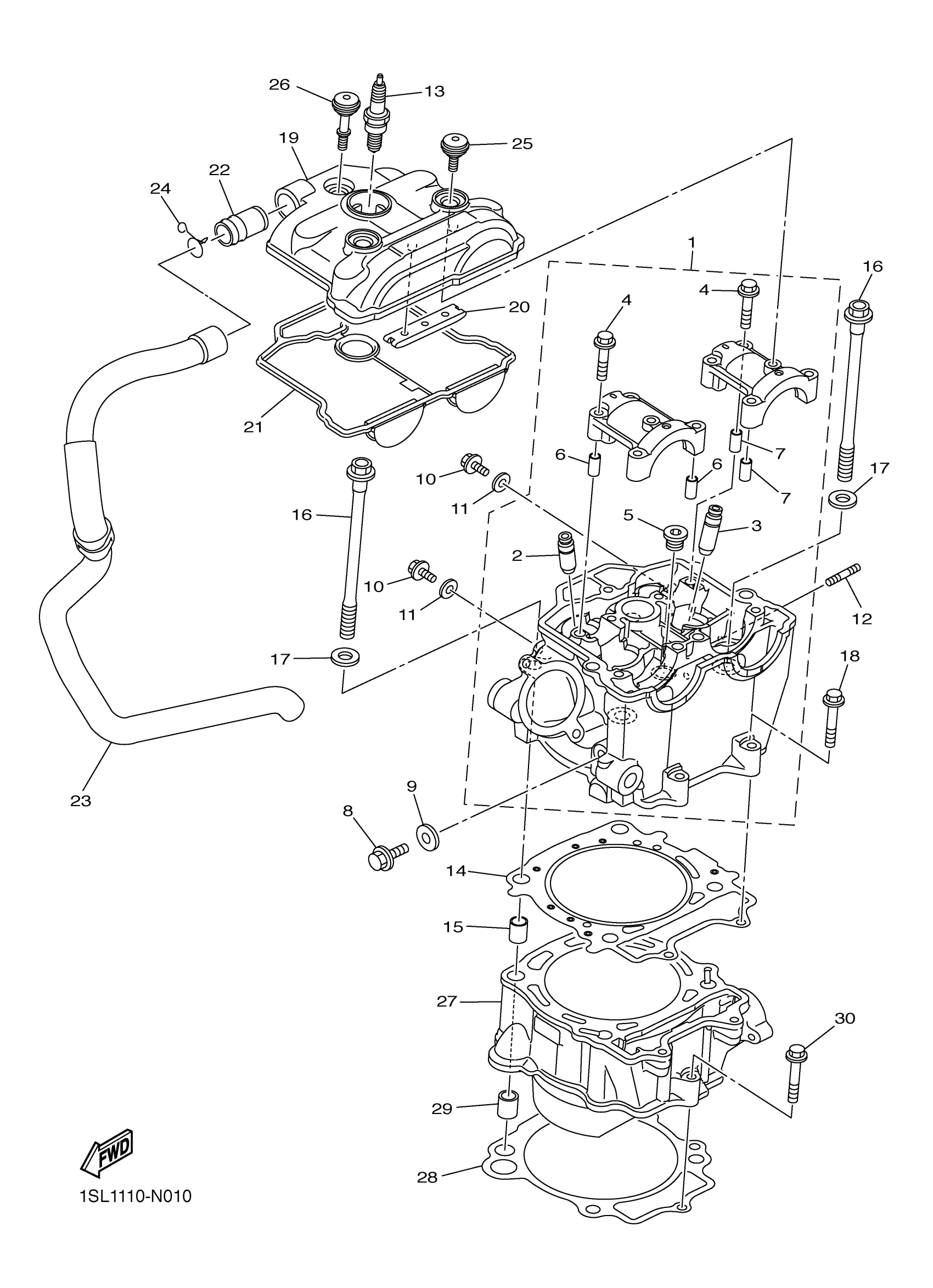
Yamaha YZ450FEW (YZ450F) 1SL10 2014 CYLINDER Diagram
#
Description
Price
11
GASKET 256113960000
90430-06014-00
Unavailable
13
CR9E NGK SPLUG 4PK
CR9-E0000-00-00
Unavailable
13
CR8E NGK SPLUG 4PK
CR8-E0000-00-00
Unavailable
15
PIN, DOWEL(4XL)
93612-16254-00
Unavailable
16
BOLT, FLANGE
90105-10367-00
Unavailable
17
WASHER, PLATE
90201-10025-00
Unavailable
18
BOLT, FLANGE
95022-06035-00
Unavailable
19
COVER, CYLINDER HEAD 1
33D-11190-29-00
Unavailable
20
GUIDE, STOPPER 2
5BE-12241-01-00
Unavailable
21
GASKET, HEAD COVER 1
33D-11193-01-00
Unavailable
22
. PIPE, BREATHER 2
341-11167-00-00
Unavailable
23
PIPE, BREATHER 1
1SL-11166-00-00
Unavailable
24
CLIP
90467-20M15-00
Unavailable
25
BOLT, COVER HEAD
5UM-1119E-00-00
Unavailable
26
BOLT, COVER HEAD
33D-1119E-00-00
Unavailable
27
CYLINDER 1
1SL-11311-00-00
Unavailable
28
GASKET, CYLINDER
1SL-11351-00-00
Unavailable
29
PIN, DOWEL
99530-14016-00
Unavailable
30
BOLT, FLANGE
95022-06035-00
Unavailable
31
TOP END GASKET KIT
1SL-W0001-00-00
Unavailable
