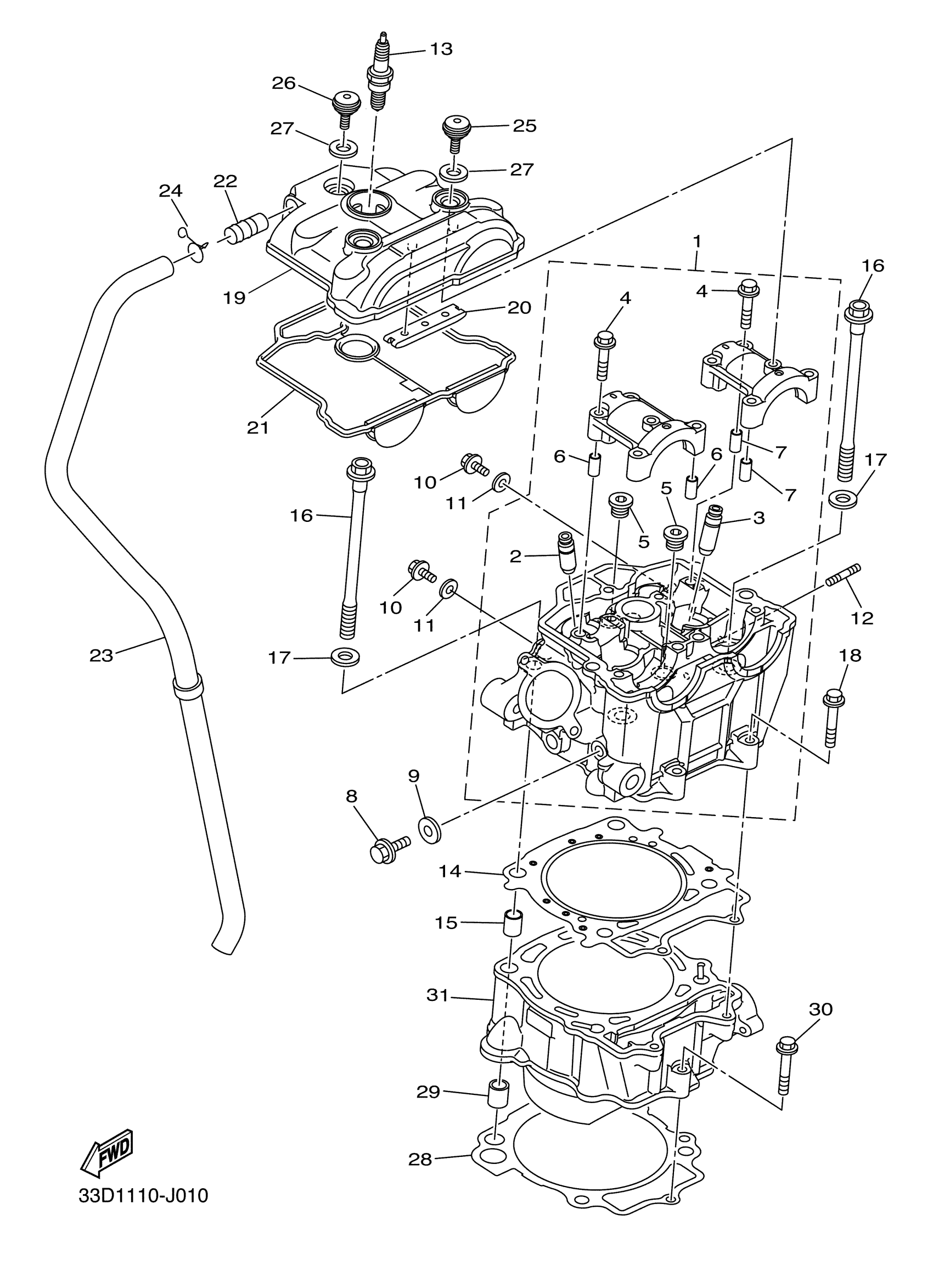
Yamaha YZ450FDW (YZ450F) 33DD0 2013 CYLINDER Diagram
#
Description
Price
11
GASKET 256113960000
90430-06014-00
Unavailable
13
CR9E NGK SPLUG 4PK
CR9-E0000-00-00
Unavailable
13
CR8E NGK SPLUG 4PK
CR8-E0000-00-00
Unavailable
15
PIN, DOWEL(4XL)
93612-16254-00
Unavailable
16
BOLT, FLANGE
90105-10367-00
Unavailable
17
WASHER, PLATE
90201-10025-00
Unavailable
18
BOLT, FLANGE
95022-06035-00
Unavailable
19
COVER, CYLINDER HEAD 1
33D-11191-10-00
Unavailable
20
GUIDE, STOPPER 2
5BE-12241-01-00
Unavailable
21
GASKET, HEAD COVER 1
33D-11193-01-00
Unavailable
22
PIPE, BREATHER 2
371-11167-01-00
Unavailable
23
PIPE, BREATHER 1
33D-11166-00-00
Unavailable
24
CLIP
90467-140A4-00
Unavailable
25
BOLT, COVER HEAD
5UM-1119E-00-00
Unavailable
26
BOLT, COVER HEAD
33D-1119E-00-00
Unavailable
27
RUBBER, MOUNT 1
5VY-1111G-00-00
Unavailable
28
GASKET, CYLINDER
33D-11351-00-00
Unavailable
29
PIN, DOWEL
99530-14016-00
Unavailable
30
BOLT, FLANGE
95022-06035-00
Unavailable
31
CYLINDER 1
33D-11311-10-00
Unavailable
32
TOP END GASKET KIT
33D-W0001-00-00
Unavailable
