- Partiron
- OEM Parts
- Yamaha
- motorcycle
- 2000
- YZ426FM (YZ426F) 5JG1 2000
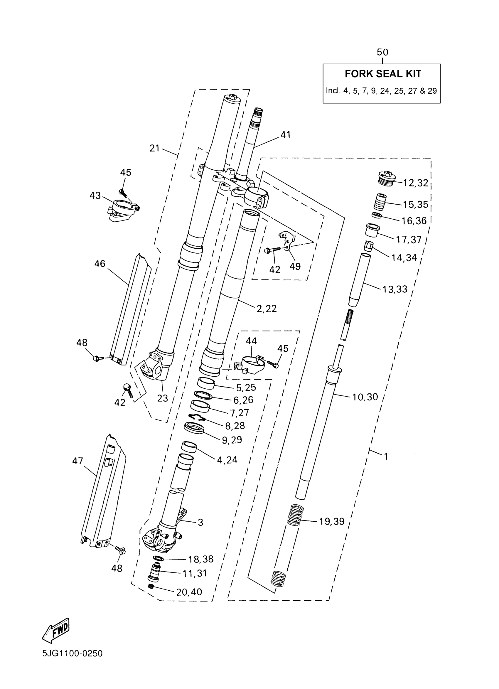
FRONT FORK
Yamaha YZ426FM (YZ426F) 5JG1 2000 FRONT FORK Diagram
#
1
FRONT FORK ASSY (L.H)
5JG-23102-L0-00
Unavailable
2
. TUBE, OUTER (RIGHT)
5HD-23136-L0-00
Unavailable
3
. INNER TUBE COMP 2
5DH-23120-L0-00
Unavailable
10
. CYLINDER COMP, FRONT FORK
5JG-23170-L0-00
Unavailable
11
. VALVE COMP
5JG-2316A-L0-00
Unavailable
12
. BOLT, CAP
5HD-23111-L0-00
Unavailable
14
. NUT, SPECIAL
5HD-23393-L0-00
Unavailable
15
RUBBER
5DH-23195-L0-00
Unavailable
16
WASHER, SPRING UPPER
5DH-23149-L0-00
Unavailable
17
. SPACER
5DH-23118-L0-00
Unavailable
18
GASKET
4SS-23158-L0-00
Unavailable
19
SPRING,FRT FRK
5GR-23141-L0-00
Unavailable
20
PLUG
3JD-2312G-L0-00
Unavailable
21
FRONT FORK ASSY (R.H)
5JG-23103-L0-00
Unavailable
22
. TUBE, OUTER (RIGHT)
5HD-23136-L0-00
Unavailable
23
INNER TUBE COMP.1
5BF-23110-L0-00
Unavailable
30
. CYLINDER COMP, FRONT FORK
5JG-23170-L0-00
Unavailable
31
. VALVE COMP
5JG-2316A-L0-00
Unavailable
32
. BOLT, CAP
5HD-23111-L0-00
Unavailable
34
. NUT, SPECIAL
5HD-23393-L0-00
Unavailable
35
RUBBER
5DH-23195-L0-00
Unavailable
36
WASHER, SPRING UPPER
5DH-23149-L0-00
Unavailable
37
. SPACER
5DH-23118-L0-00
Unavailable
38
GASKET
4SS-23158-L0-00
Unavailable
39
SPRING,FRT FRK
5GR-23141-L0-00
Unavailable
40
PLUG
3JD-2312G-L0-00
Unavailable
41
UNDER BRACKET COMP.
5HC-23340-L0-00
Unavailable
42
BOLT, FLANGE(4KG)
95024-08040-00
Unavailable
43
PROTECTER GUIDE COMP., 2
4SS-2314G-L0-00
Unavailable
44
PROTECTER GUIDE COMP., 1
5DH-2314F-L0-00
Unavailable
45
BOLT 1
4SS-23346-L0-00
Unavailable
46
PROTECTER COMP., 2
5DH-2314J-00-00
Unavailable
47
PROTECTER COMP., 1
5DH-2314H-00-00
Unavailable
48
BOLT 2
3SP-23356-L0-00
Unavailable
49
GUIDE, CABLE
5HC-2331E-00-00
Unavailable
50
FORK SEAL KIT (TWO FORKS)
5ET-W003B-00-00
Unavailable
