- Partiron
- OEM Parts
- Yamaha
- motorcycle
- 1999
- YZ400FL (YZ400FL) 5GR1 1999
REAR MASTER CYLINDER
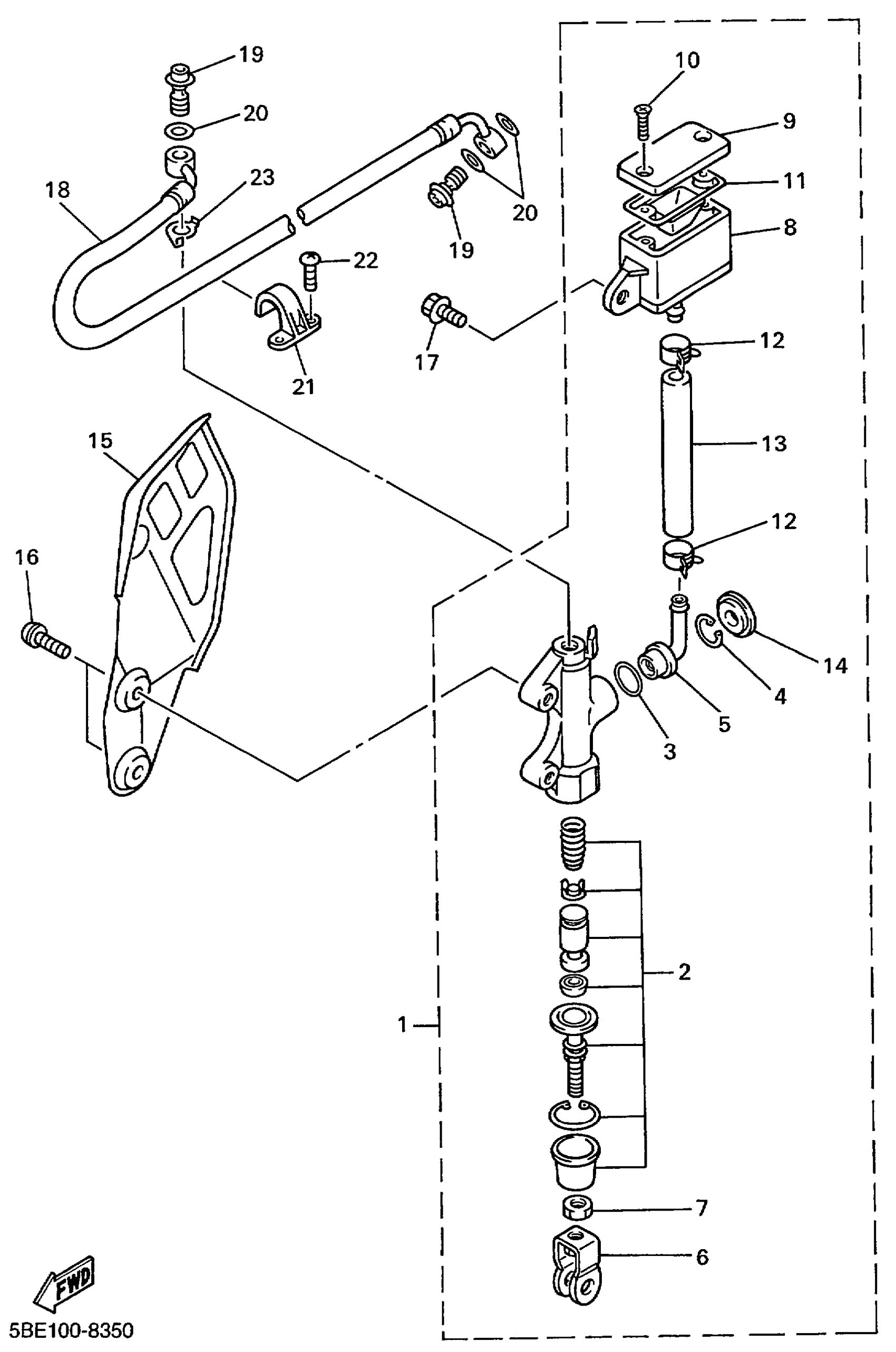
Yamaha YZ400FL (YZ400FL) 5GR1 1999 REAR MASTER CYLINDER Diagram
#
Description
Price
1
RR. MASTER CYLINDER ASSEMBLY.
5BE-2583V-00-00
Unavailable
7
. NUT
95380-08700-00
Unavailable
9
CAP, RESERVOIR
5BE-25852-00-00
Unavailable
13
. HOSE, RESERVOIR
5BE-25895-00-00
Unavailable
15
COVER 2
5BE-2117M-01-00
Unavailable
16
BOLT, BUTTON
92014-06016-00
Unavailable
17
BOLT, FLANGE(4MY)
95027-06012-00
Unavailable
18
HOSE, BRAKE 2
5MV-25873-01-00
Unavailable
19
BOLT, UNION
90401-10172-00
Unavailable
20
WASHER, PLATE(481)
90201-10118-00
Unavailable
21
HOLDER, BRAKE HOSE 2
2VM-25876-00-00
Unavailable
22
SCREW, TAPPING(6U1)
97780-50610-00
Unavailable
23
WASHER, LOCK
5BE-25844-00-00
Unavailable
