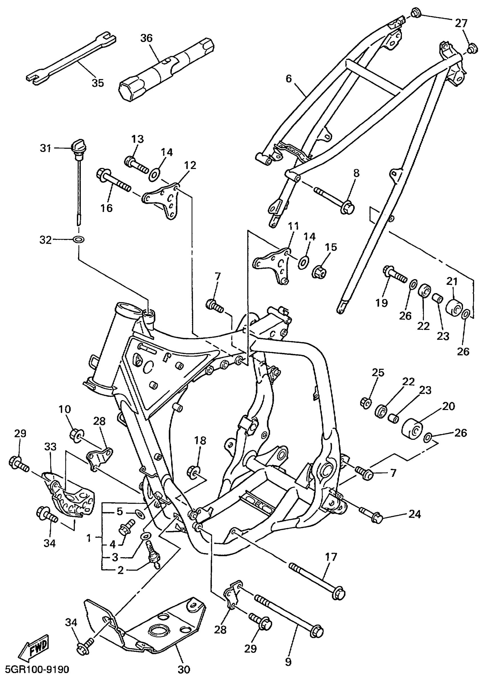
Yamaha YZ400FL (YZ400FL) 5GR1 1999 FRAME Diagram
#
Description
Price
1
FRONT FRAME COMP.
5GR-21101-00-P0
Unavailable
2
. NET, FILTER
5BE-21756-00-00
Unavailable
6
REAR FRAME COMP.
5BE-21190-00-P0
Unavailable
9
BOLT, FLANGE
95817-10160-00
Unavailable
11
BRACKET, REAR UPPER 1
5GR-21425-01-00
Unavailable
12
BRACKET, REAR UPPER 1
5BE-21425-01-00
Unavailable
16
BOLT, FLANGE(8AB)
95817-10050-00
Unavailable
17
BOLT, WASHER BASED(3RB)
90105-10733-00
Unavailable
19
BOLT, FLANGE(4MY)
95027-08040-00
Unavailable
20
TENSIONER
3JD-22178-20-00
Unavailable
21
TENSIONER
4EW-22178-01-00
Unavailable
22
BEARING (3X3)
93300-60804-00
Unavailable
23
COLLAR(1NL)
90387-086N4-00
Unavailable
24
BOLT, FLANGE
95027-08065-00
Unavailable
25
NUT, FLANGE(JN5)
95707-08500-00
Unavailable
27
GROMMET (1Y8)
90480-17218-00
Unavailable
28
BRACKET, FRONT LOWER 1
5BE-21417-00-00
Unavailable
29
BOLT, FLANGE(JN5)
95817-08016-00
Unavailable
30
PROTECTOR, ENGINE
5BE-21471-00-00
Unavailable
31
PLUG, OIL LEVEL
5BE-15362-00-00
Unavailable
32
O-RING (646)
93210-19123-00
Unavailable
33
GUARD, ENGINE 1
5TA-2147A-00-00
Unavailable
34
BOLT, SMALL FLANGE
95027-08012-00
Unavailable
35
WRENCH, HEXAGON
5ET-28166-10-00
Unavailable
36
BOX, SPARK PLUG
5BE-2814F-00-00
Unavailable
