Partiron

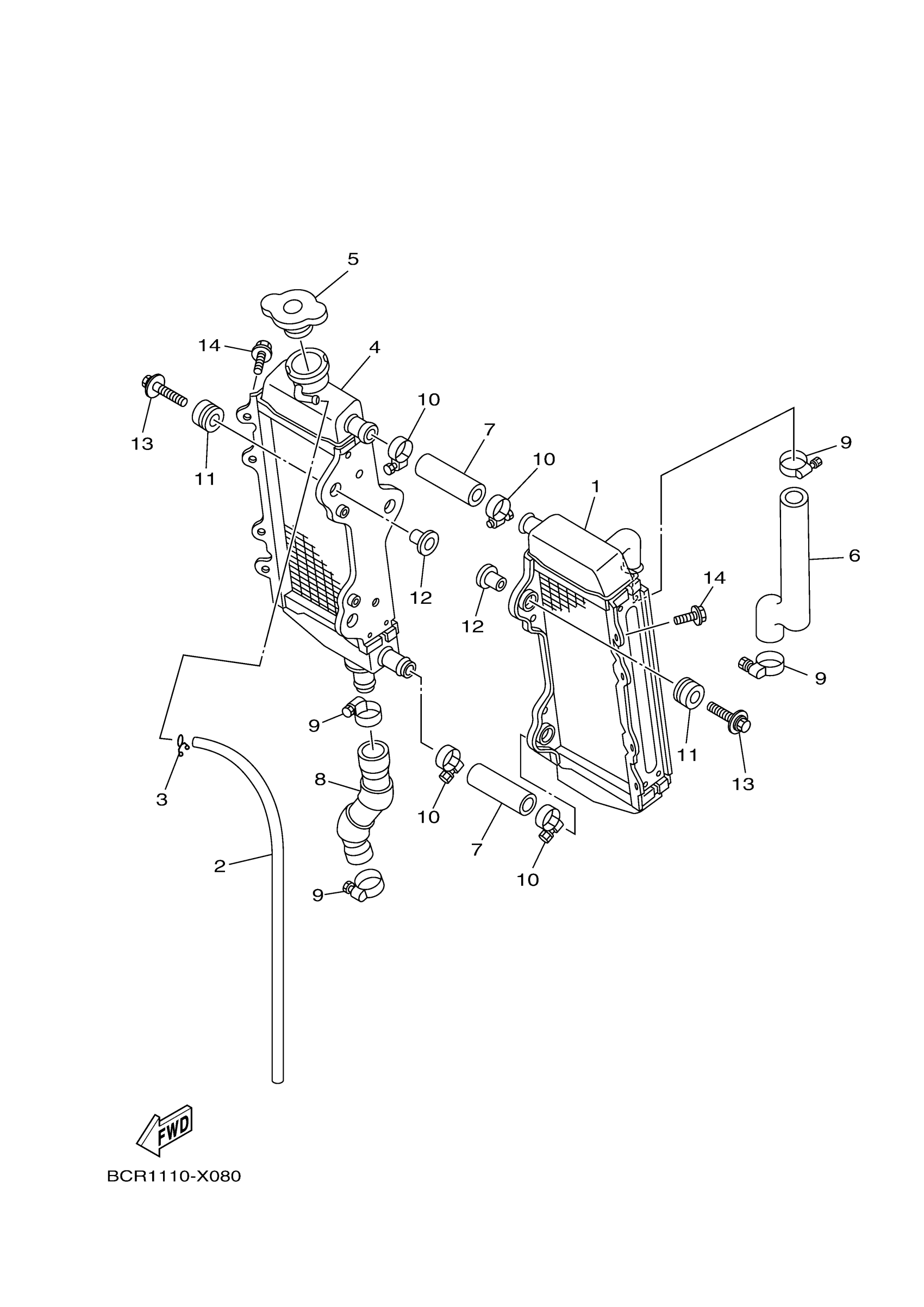
Yamaha YZ250XR (YZ250X) BRY5 2024 RADIATOR & HOSE Diagram

#

Description
Price

1

RADIATOR ASSY

5NX-1240A-00-00

$203.99

2

TUBE, FLEXIBLE VINYL(8AK)

91A20-05080-00

$14.99

3

CLIP

90467-090A2-00

$4.41

4

RADIATOR ASSY

5NX-12461-00-00

$203.99

5

CAP, RADIATOR

4FL-12462-00-00

$62.99

6

PIPE 1

BCR-12481-00-00

$14.99

7

PIPE 2

5NY-12482-00-00

$7.99

8

PIPE 4

1P8-12484-00-00

$22.99

9

HOSE CLAMP ASSY

90450-28001-00

$14.99

10

HOSE CLAMP ASSY(64X)

90450-22M14-00

$16.99

11

GROMMET(3RB)

90480-15528-00

$8.49

12

COLLAR

90387-06065-00

$12.49

13

BOLT, WITH WASHER

90119-06262-00

$8.49

14

BOLT, WITH WASHER

90119-06239-00

$3.55