- Partiron
- OEM Parts
- Yamaha
- motorcycle
- 2017
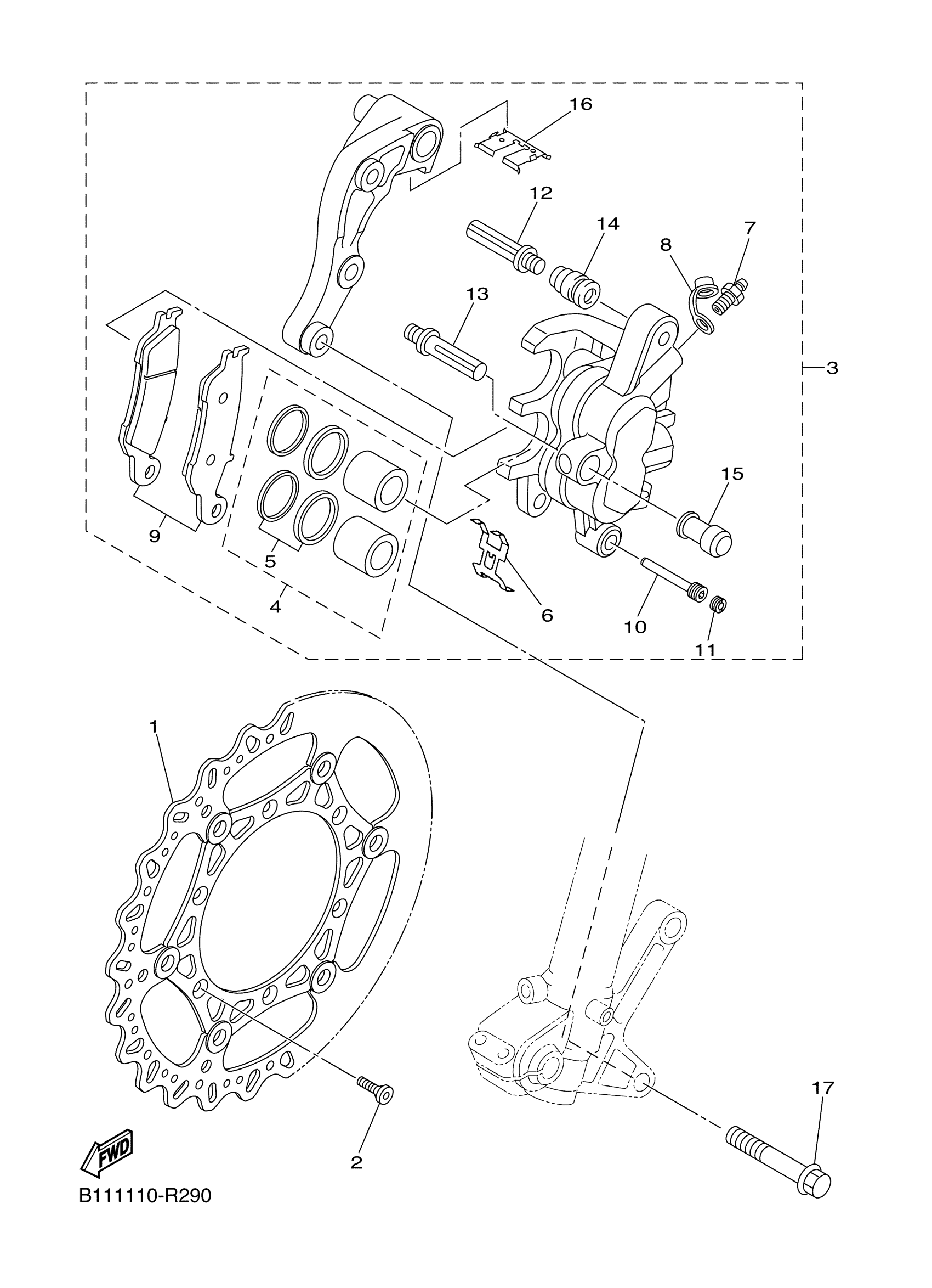
- YZ250XH (YZ250X) BF16 2017
FRONT BRAKE CALIPER
Yamaha YZ250XH (YZ250X) BF16 2017 FRONT BRAKE CALIPER Diagram
#
Description
Price
16
RETAINER, CALIPER
5XC-25849-G0-00
Unavailable
17
BOLT, FLANGE
90105-08137-00
Unavailable
