Partiron

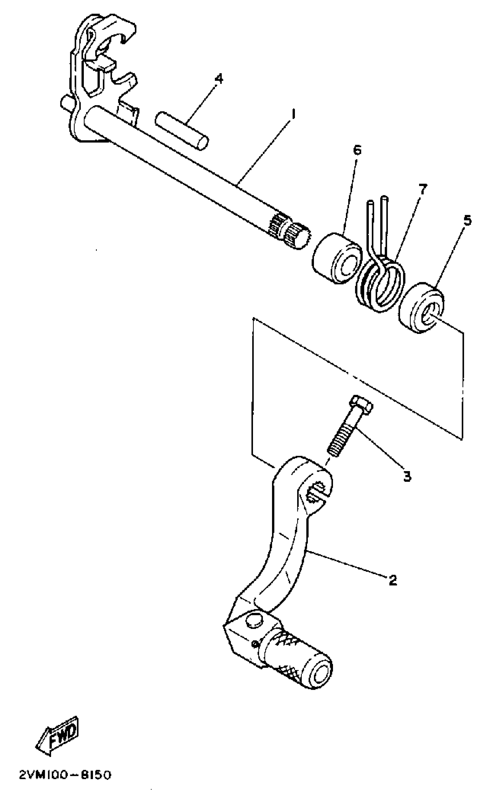
Yamaha YZ250WRA (YZ250WRA) 1990 SHIFT SHAFT Diagram

#

Description
Price

1

SHIFT SHAFT ASSEMBLY (2VM-18101-00-00)

2VM-18101-01-00

Unavailable

2

SHIFT PEDAL ASSY

4SS-18110-00-00

$88.99

3

BOLT, HEXAGON

97017-06025-00

$4.24

4

PIN, DOWEL

93608-33046-00

Unavailable

5

SEAL, OIL (30X)

93102-12321-00

$12.49

6

SPACER

90560-12171-00

Unavailable

7

SPRING, TORSION

90508-29742-00

Unavailable