- Partiron
- OEM Parts
- Yamaha
- motorcycle
- 1990
- YZ250WRA (YZ250WRA) 1990
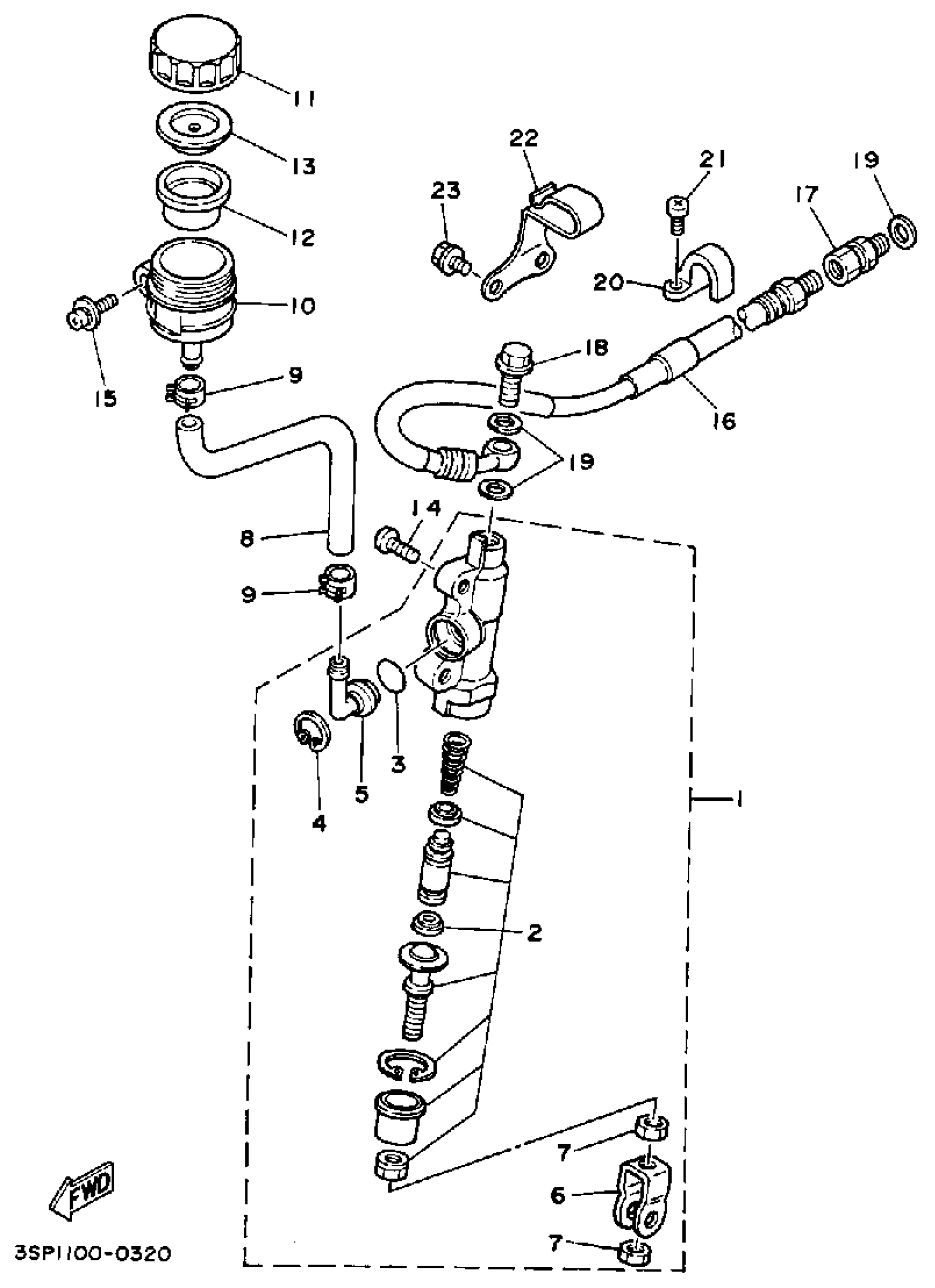
REAR MASTER CYLINDER
Yamaha YZ250WRA (YZ250WRA) 1990 REAR MASTER CYLINDER Diagram
#
Description
Price
1
RR. MASTER CYLINDER ASSY.
3SP-2583V-00-00
Unavailable
8
HOSE, RESERVOIR
3JD-25895-00-00
Unavailable
16
HOSE, BRAKE 2
99999-03040-00
Unavailable
17
JOINT
3LC-25885-00-00
Unavailable
18
BOLT, UNION(3GM)
90401-10159-00
Unavailable
19
WASHER, PLATE(481)
90201-10118-00
Unavailable
20
HOLDER, BRAKE HOSE 2
2VM-25876-00-00
Unavailable
21
SCREW, PAN HEAD(62X)
97885-05010-00
Unavailable
22
CLAMP(3RB)
90462-12195-00
Unavailable
23
BOLT, FLANGE(3BM)
95024-06008-00
Unavailable
